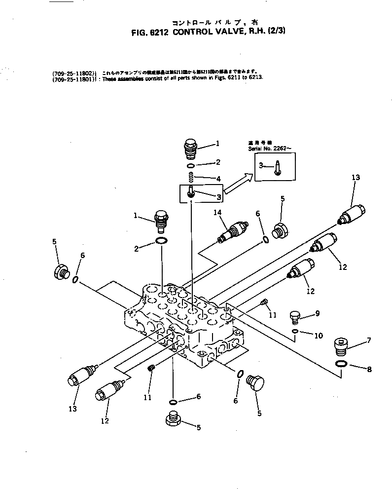
Запчасти Komatsu PC75UU-1 УПРАВЛЯЮЩ. КЛАПАН¤ ПРАВ. (/) УПРАВЛ-Е РАБОЧИМ ОБОРУДОВАНИЕМ

Схема запчастей Komatsu PC75UU-1 - УПРАВЛЯЮЩ. КЛАПАН¤ ПРАВ. (/) УПРАВЛ-Е РАБОЧИМ ОБОРУДОВАНИЕМ
FIT
1:1
100%

Артикул

Название

Примечание

Количество

|$0

709-25-11802

CONTROL VALVE ASS'Y,R.H.

|$1

709-25-11801

VALVE ASS'Y,R.H.

1

709-25-11640

PLUG

1

709-25-11612

PLUG

2

07000-12020

O-RING

3

709-25-11650

VALVE

3

709-25-11350

VALVE,CHECK

4

709-25-11361

SPRING

5

708-7B-16570

PLUG

5

07040-12012

PLUG

6

07002-12034

O-RING

7

07040-12414

PLUG

8

07002-02434

O-RING

9

07040-11409

PLUG

10

07002-01423

O-RING

11

07043-70108

PLUG

12

709-20-61201

VALVE ASS'Y,SUCTION AND SAFETY

13

709-20-61102

VALVE ASS'Y,SUCTION AND SAFETY

14

709-20-51103

VALVE ASS'Y,RELIEF

Выбрано товаров: 19