Запчасти Komatsu PC75UU-1 СТРЕЛА 1 (ДЛЯ НАВЕСН. ОБОРУД.) РАБОЧЕЕ ОБОРУДОВАНИЕ

Схема запчастей Komatsu PC75UU-1 - СТРЕЛА 1 (ДЛЯ НАВЕСН. ОБОРУД.) РАБОЧЕЕ ОБОРУДОВАНИЕ
FIT
1:1
100%

Артикул

Название

Примечание

Количество

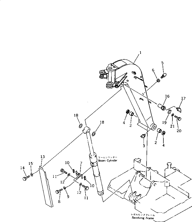
G-1

21W-973-X120

MODIFIED GROUP,(FOR ATTACHMENT) (OP)

|1

21W-973-0010

BOOM ASS'Y,1ST

1

BOOM

2

201-70-21182

BUSHING

3

07020-00900

FITTING,GREASE

4

07145-00060

SEAL,DUST

5

09453-00002

STOPPER

6

01580-11210

NUT

G-2

21W-70-X1500

COVER GROUP

7

21W-70-11432

BRACKET

|7

21W-70-11431

BRACKET

8

01010-50816

BOLT

9

01643-30823

WASHER

10

21W-70-11440

PAD

11

01010-50616

BOLT

12

01641-20608

WASHER

13

21W-70-11422

COVER

|13

21W-70-11421

COVER

14

01010-51025

BOLT

15

01643-31032

WASHER

16

21W-70-11240

PIN

17

07020-00675

FITTING,GREASE

18

203-70-41460

SPACER¤ 1.0MM

|18

203-70-41470

SPACER¤ 2.0MM

19

21W-70-11310

PLATE

20

01010-51230

BOLT

21

01643-31232

WASHER

Выбрано товаров: 27