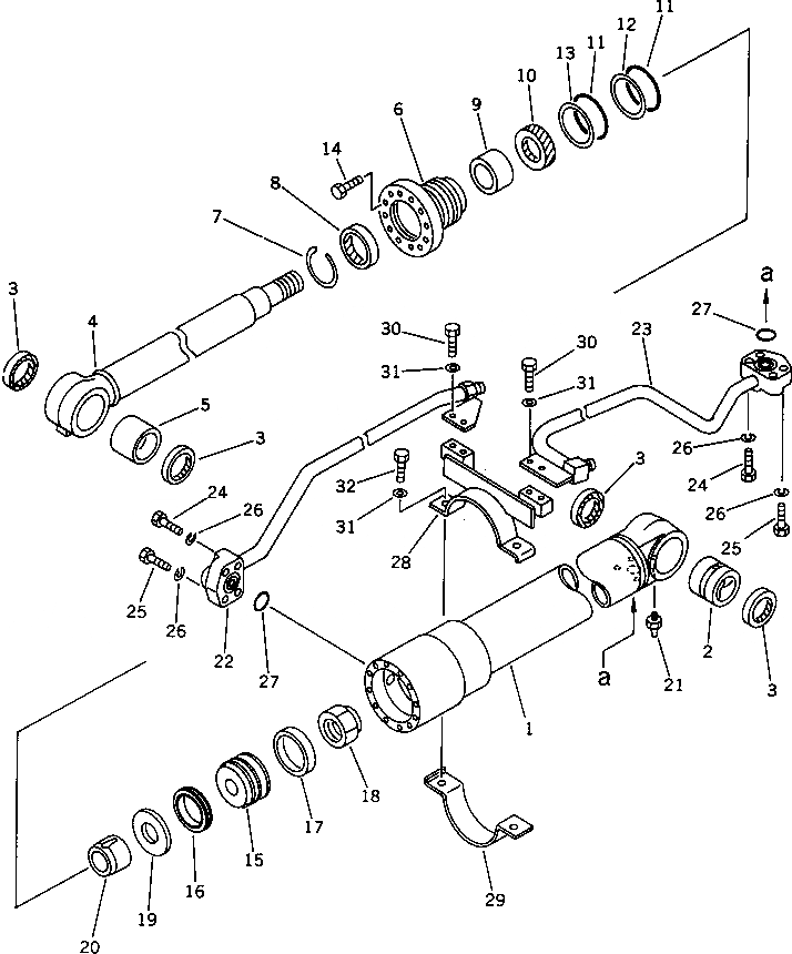
Запчасти Komatsu PC75UU-1 ЦИЛИНДР СТРЕЛЫ РАБОЧЕЕ ОБОРУДОВАНИЕ

Схема запчастей Komatsu PC75UU-1 - ЦИЛИНДР СТРЕЛЫ РАБОЧЕЕ ОБОРУДОВАНИЕ
FIT
1:1
100%

Артикул

Название

Примечание

Количество

G-1

21W-63-X2012

CYLINDER GROUP,BOOM

G-1

21W-63-X2011

CYLINDER GROUP,BOOM

|1

21W-63-02012

CYLINDER ASS'Y,BOOM

|1

21W-63-02011

CYLINDER ASS'Y,BOOM

1

21W-63-56141

CYLINDER

2

707-76-70040

BUSHING

3

07145-00070

SEAL,DUST

4

21W-63-56120

ROD,PISTON

5

707-76-70130

BUSHING

6

707-28-11290

HEAD,CYLINDER

7

07179-12084

RING,SNAP

8

144-63-95170

SEAL,DUST

|8

07016-20708

SEAL,DUST

9

07177-07030

BUSHING

10

707-51-70211

PACKING,ROD

11

07000-12105

O-RING

12

07146-02106

RING,BACK-UP

13

707-35-91111

RING,BACK-UP

14

01010-81655

BOLT

15

707-36-11360

PISTON

|15

707-36-11361

PISTON

16

707-44-11180

RING,PISTON

|16

707-44-11080

RING,PISTON

17

07155-01125

RING,WEAR

18

07165-15252

NUT

19

707-40-11370

SPACER

20

707-71-60731

PLUNGER

|20

707-71-60730

PLUNGER

21

07020-00000

FITTING,GREASE

22

21W-63-56171

TUBE

23

21W-63-56181

TUBE

24

01010-50855

BOLT

25

01010-50845

BOLT

26

01602-20823

WASHER,SPRING

27

07000-13030

O-RING

28

707-88-95431

BRACKET

29

707-88-97760

BAND

30

01010-51025

BOLT

31

01643-31032

WASHER

32

01010-51035

BOLT

Выбрано товаров: 40