Запчасти Komatsu PC75UU-1 КОВШ¤ .M¤ ШИР. MM РАБОЧЕЕ ОБОРУДОВАНИЕ

Схема запчастей Komatsu PC75UU-1 - КОВШ¤ .M¤ ШИР. MM РАБОЧЕЕ ОБОРУДОВАНИЕ
FIT
1:1
100%

Артикул

Название

Примечание

Количество

|1

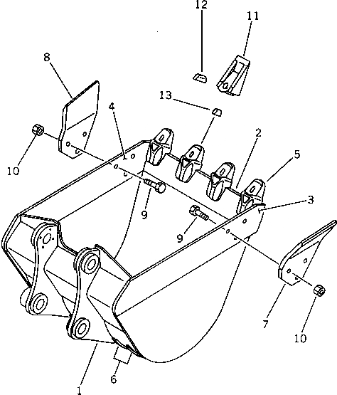
201-70-00440

BUCKET ASS'Y

G-1

201-70-X4100

BUCKET GROUP

1

201-70-53111

BUCKET

2

201-70-53120

LIP (WELDED)

3

201-70-53140

PLATE,L.H. (WELDED)

4

201-70-53130

PLATE,R.H. (WELDED)

5

20X-70-23150

ADAPTER (WELDED)

6

201-70-53180

PLATE (WELDED)

G-2

201-70-X4300

SIDE CUTTER GROUP

7

20X-933-1110

SIDE CUTTER,L.H.

8

20X-933-1120

SIDE CUTTER,R.H.

9

01802-02265

BOLT

10

01803-02228

NUT

G-3

201-70-X4200

TOOTH GROUP

11

20X-70-23160

TOOTH

12

203-70-43212

PIN

13

203-70-43220

PIN

Выбрано товаров: 17