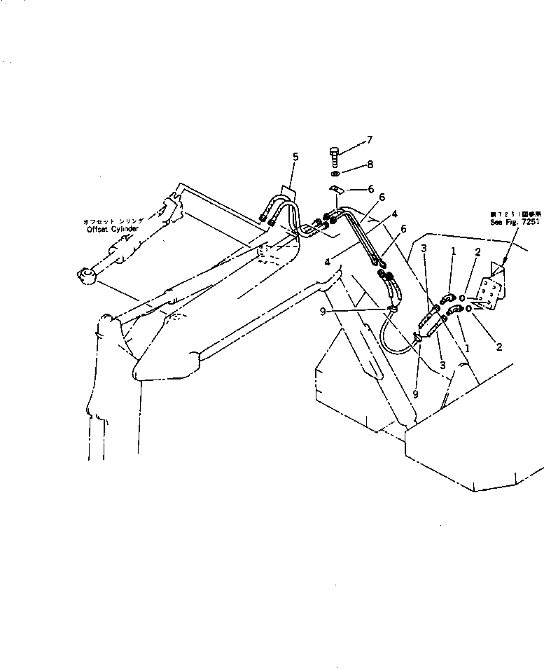
Запчасти Komatsu PC75UU-1 ГИДРОЛИНИЯ (OFFSET ЛИНИЯ ЦИЛИНДРА) (HOE ) РАБОЧЕЕ ОБОРУДОВАНИЕ

Схема запчастей Komatsu PC75UU-1 - ГИДРОЛИНИЯ (OFFSET ЛИНИЯ ЦИЛИНДРА) (HOE ) РАБОЧЕЕ ОБОРУДОВАНИЕ
FIT
1:1
100%

Артикул

Название

Примечание

Количество

1

07236-10422

ELBOW

2

07002-12034

O-RING

3

07086-40413

HOSE

|3

07096-40413

HOSE

4

21W-62-13110

TUBE

5

07086-20409

HOSE

|5

07096-20409

HOSE

6

21W-62-13190

CLAMP

7

01010-51025

BOLT

8

01643-31032

WASHER

9

08034-10520

BAND

Выбрано товаров: 11