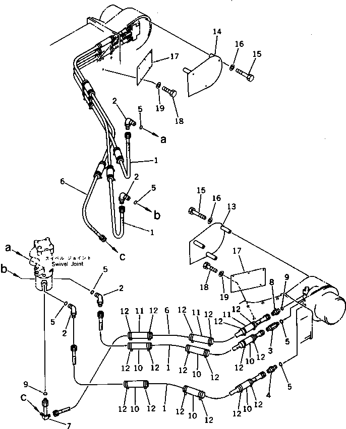
Запчасти Komatsu PC75UU-1 ГИДРОЛИНИЯ (МОТОР ХОДА ЛИНИЯ) (ГУСЕНИЦЫ ) ХОДОВАЯ

Схема запчастей Komatsu PC75UU-1 - ГИДРОЛИНИЯ (МОТОР ХОДА ЛИНИЯ) (ГУСЕНИЦЫ ) ХОДОВАЯ
FIT
1:1
100%

Артикул

Название

Примечание

Количество

1

07096-00418

HOSE

2

07235-10422

ELBOW

3

201-62-52110

NIPPLE

4

07230-20422

UNION

|4

07230-10422

UNION

5

07002-12034

O-RING

6

07102-20317

HOSE

7

203-62-41141

ELBOW

8

07230-10315

UNION

9

07002-02034

O-RING

10

203-62-41150

COVER

11

203-62-41160

COVER

12

08034-00519

BAND

13

21W-62-12110

COVER,L.H.

14

21W-62-12120

COVER,R.H.

15

01011-51010

BOLT

16

01643-31032

WASHER

17

21W-62-12130

COVER

18

01010-51025

BOLT

19

01643-31032

WASHER

Выбрано товаров: 20