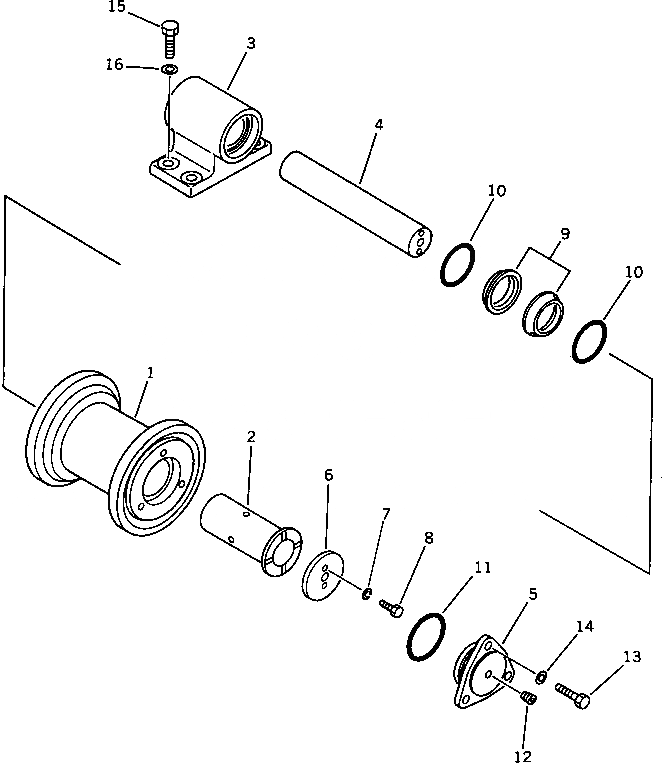
Запчасти Komatsu PC75UU-1 ПОДДЕРЖИВАЮЩИЙ КАТОК(№7-) ХОДОВАЯ

Схема запчастей Komatsu PC75UU-1 - ПОДДЕРЖИВАЮЩИЙ КАТОК(№7-) ХОДОВАЯ
FIT
1:1
100%

Артикул

Название

Примечание

Количество

|1

21W-30-00030

CARRIER ROLLER ASS'Y

1

21W-30-13510

ROLLER

2

21W-30-13520

BUSHING

3

203-30-53150

COLLAR

4

21W-30-13530

SHAFT

5

203-30-43150

COVER

6

203-30-43170

PLATE

7

01602-20825

WASHER,SPRING

8

01010-50820

BOLT

|9

110-30-00045

FLOATING SEAL ASS'Y

9

101-30-00130

SEAL RING ASS'Y

|9

RING,SEAL

10

101-30-00140

O-RING ASS'Y

|10

O-RING

11

07000-02060

O-RING

12

07043-50108

PLUG

13

01010-51025

BOLT

14

01643-31032

WASHER

15

01010-51235

BOLT

16

01643-31232

WASHER

Выбрано товаров: 20