Запчасти Komatsu PC75UU-1 ОТВАЛ ПЕДАЛЬ УПРАВЛ-Я И МЕХАНИЗМ (ДЛЯ НАВЕСН. ОБОРУД.) СИСТЕМА УПРАВЛЕНИЯ И ОСНОВНАЯ РАМА

Схема запчастей Komatsu PC75UU-1 - ОТВАЛ ПЕДАЛЬ УПРАВЛ-Я И МЕХАНИЗМ (ДЛЯ НАВЕСН. ОБОРУД.) СИСТЕМА УПРАВЛЕНИЯ И ОСНОВНАЯ РАМА
FIT
1:1
100%

Артикул

Название

Примечание

Количество

G-1

21W-973-X160

CONTROL MODIFIED G.,(FOR ATTACHMENT) (OP)

1

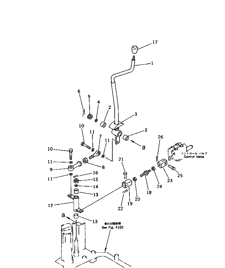
21W-43-11280

LEVER

2

195-61-34130

BEARING

3

20S-43-11230

COVER

4

01643-31445

WASHER

5

01592-11215

NUT

6

04050-13022

PIN,COTTER

7

04252-21061

END,ROD

8

01582-21008

NUT

9

04250-41056

END,ROD

10

01010-51035

BOLT

11

01643-31032

WASHER

12

21W-43-11290

LEVER

13

195-61-34130

BEARING

14

01643-31445

WASHER

15

01592-11215

NUT

16

04050-13022

PIN,COTTER

17

203-43-41910

KNOB

18

21W-43-11370

ROD

19

20S-43-12150

YOKE,L.H. THREAD

20

01508-41006

NUT,L.H. THREAD

21

04205-10822

PIN

22

04050-12015

PIN,COTTER

23

20S-43-21570

YOKE

24

01582-11008

NUT

25

04205-10520

PIN

26

04050-11210

PIN,COTTER

Выбрано товаров: 27