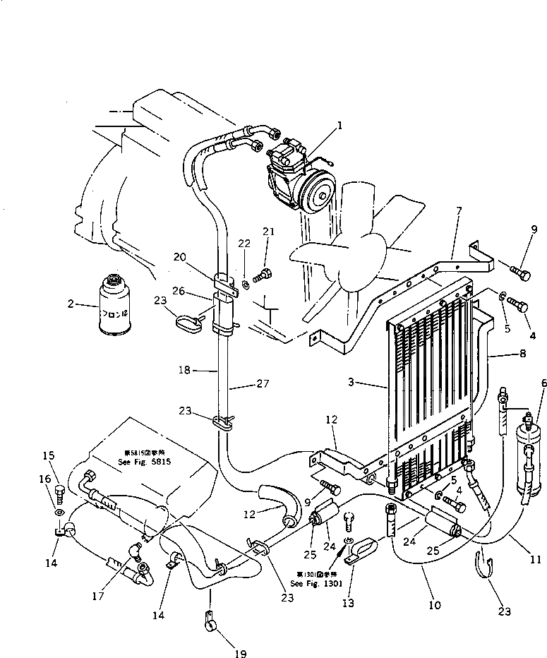
Запчасти Komatsu PC75UU-1 CAR ЛИНИЯ ОХЛАЖДЕНИЯ (/) ЧАСТИ КОРПУСА

Схема запчастей Komatsu PC75UU-1 - CAR ЛИНИЯ ОХЛАЖДЕНИЯ (/) ЧАСТИ КОРПУСА
FIT
1:1
100%

Артикул

Название

Примечание

Количество

G-1

21W-978-X110

COOLER UNIT GROUP

1

205-981-5130

COMPRESSOR ASS'Y

2

566-07-11620

GAS

3

203-978-4340

CONDENSER ASS'Y

4

01010-50640

BOLT

5

01602-20619

WASHER,SPRING

6

566-07-11240

RECEIVER

G-2

21W-978-X140

CONDENSOR MOUNT G.

7

21W-978-1260

BRACKET

8

21W-978-1270

BRACKET

9

01010-50820

BOLT

G-3

21W-978-X150

PIPING¤ WIRING GROUP

10

09488-20507

HOSE

11

21W-978-1230

HOSE

12

203-977-3110

COVER

13

176-911-4170

CLIP

14

08036-02514

CLIP

15

01010-51020

BOLT

16

01643-31032

WASHER

17

205-981-5250

ELBOW

18

21W-978-1340

HOSE

19

08036-01814

CLIP

20

176-911-4170

CLIP

21

01010-51016

BOLT

22

01643-31032

WASHER

23

08034-00536

BAND

24

203-977-3110

COVER

25

202-981-1360

BUSHING

26

20U-62-11760

VINYL

G-4

21W-978-X160

COMPRESSOR MOUNT G.

27

21W-978-1330

HOSE

Выбрано товаров: 31