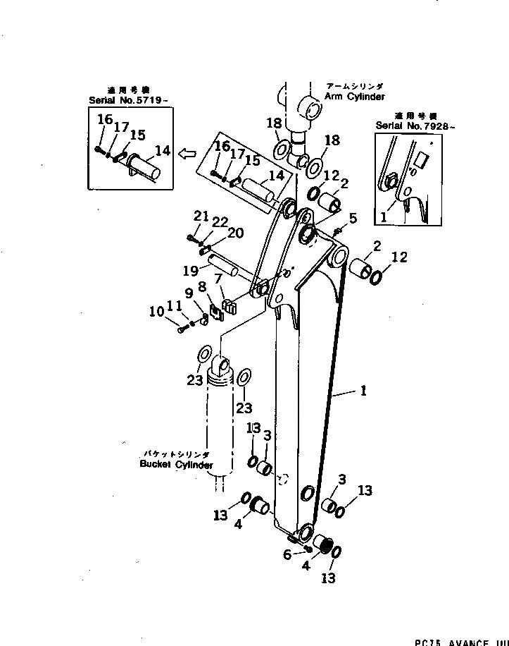
Запчасти Komatsu PC75UU-2 РУКОЯТЬ (РУКОЯТЬ И ПАЛЕЦ) РАБОЧЕЕ ОБОРУДОВАНИЕ

Схема запчастей Komatsu PC75UU-2 - РУКОЯТЬ (РУКОЯТЬ И ПАЛЕЦ) РАБОЧЕЕ ОБОРУДОВАНИЕ
FIT
1:1
100%

Артикул

Название

Примечание

Количество

|$1

21W-70-00423

ARM ASS'Y

|$2

21W-70-00422

ARM ASS'Y

|$3

21W-70-00421

ARM ASS'Y

|$4

21W-70-00420

ARM ASS'Y

1

ARM

1

ARM

1

ARM

1

ARM

2

20X-70-32120

BUSHING

3

201-70-22141

BUSHING

4

20X-70-22140

BUSHING

5

07020-00675

FITTING,GREASE

6

07020-00000

FITTING,GREASE

7

21W-70-21380

CUSHION

8

20U-70-21311

PLATE

9

08036-11210

CLIP

10

01010-51020

BOLT

11

01643-31032

WASHER

12

07145-00065

SEAL,DUST

13

130-09-12931

SEAL,DUST

14

21W-70-21291

PIN

14

21W-70-21290

PIN

15

21W-70-11310

PLATE

15

04082-00212

LOCK

16

01010-51230

BOLT

17

01643-31232

WASHER

18

21W-70-21250

SHIM, 4.0MM

19

21W-70-21211

PIN

20

04082-00212

LOCK

21

01010-51230

BOLT

22

01643-31232

WASHER

23

21W-70-21440

SHIM, 3.0MM

Выбрано товаров: 32