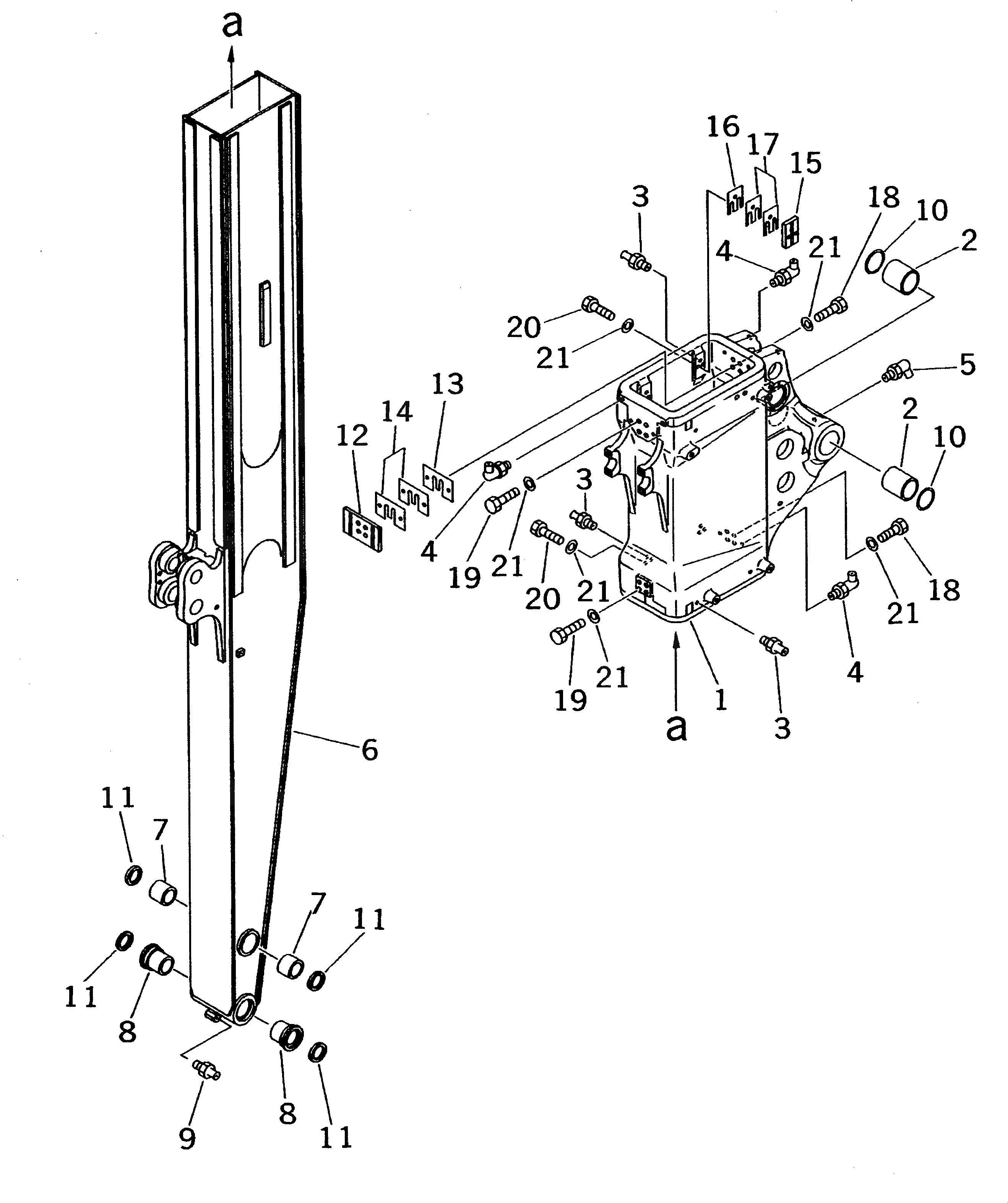
Запчасти Komatsu PC75UU-2 РУКОЯТЬ (РУКОЯТЬ) (ТЕЛЕСКОПИЧЕСК. РУКОЯТЬ) РАБОЧЕЕ ОБОРУДОВАНИЕ

Схема запчастей Komatsu PC75UU-2 - РУКОЯТЬ (РУКОЯТЬ) (ТЕЛЕСКОПИЧЕСК. РУКОЯТЬ) РАБОЧЕЕ ОБОРУДОВАНИЕ
FIT
1:1
100%

Артикул

Название

Примечание

Количество

|$1

21W-70-00440

BRACKET ASS'Y

1

BRACKET

2

20X-70-32120

BUSHING

3

07020-00000

FITTING,GREASE

4

07020-00900

FITTING,GREASE

5

07020-00675

FITTING,GREASE

|$7

21W-70-00430

ARM ASS'Y

6

ARM

7

201-70-22141

BUSHING

8

20X-70-22140

BUSHING

9

07020-00000

FITTING,GREASE

10

07145-00065

SEAL,DUST

11

130-09-12931

SEAL,DUST

12

21W-70-25380

PAD

13

20U-70-25640

SHIM, 0.5MM

14

20U-70-25650

SHIM, 1.0MM

15

21W-70-25170

PAD

16

21W-70-25180

SHIM, 0.5MM

17

21W-70-25190

SHIM, 1.0MM

18

01010-51045

BOLT

19

01010-51050

BOLT

20

01010-51055

BOLT

21

01643-31032

WASHER

Выбрано товаров: 23