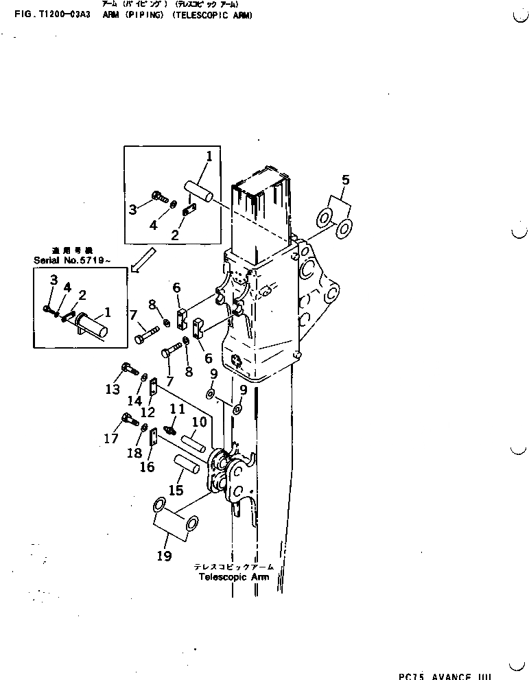
Запчасти Komatsu PC75UU-2 РУКОЯТЬ (ПАЛЕЦ) (ТЕЛЕСКОПИЧЕСК. РУКОЯТЬ) РАБОЧЕЕ ОБОРУДОВАНИЕ

Схема запчастей Komatsu PC75UU-2 - РУКОЯТЬ (ПАЛЕЦ) (ТЕЛЕСКОПИЧЕСК. РУКОЯТЬ) РАБОЧЕЕ ОБОРУДОВАНИЕ
FIT
1:1
100%

Артикул

Название

Примечание

Количество

1

21W-70-21291

PIN

|1

21W-70-21290

PIN

2

21W-70-11310

PLATE

|2

04082-00212

LOCK

3

01010-51230

BOLT

4

01643-31232

WASHER

5

21W-70-21250

SHIM¤ 4.0MM

6

21W-70-25160

PLATE

7

01010-51460

BOLT

8

01643-31445

WASHER

9

20T-70-71490

SHIM¤ 2.5MM

10

21W-70-25150

PIN

11

07020-00000

FITTING,GREASE

12

04082-00212

LOCK

13

01010-51230

BOLT

14

01643-31232

WASHER

15

21W-70-21211

PIN

16

04082-00212

LOCK

17

01010-51230

BOLT

18

01643-31232

WASHER

19

21W-70-21440

SHIM¤ 3.0MM

Выбрано товаров: 21