Запчасти Komatsu PC75UU-2E ЦИЛИНДР КОВША РАБОЧЕЕ ОБОРУДОВАНИЕ

Схема запчастей Komatsu PC75UU-2E - ЦИЛИНДР КОВША РАБОЧЕЕ ОБОРУДОВАНИЕ
FIT
1:1
100%

Артикул

Название

Примечание

Количество

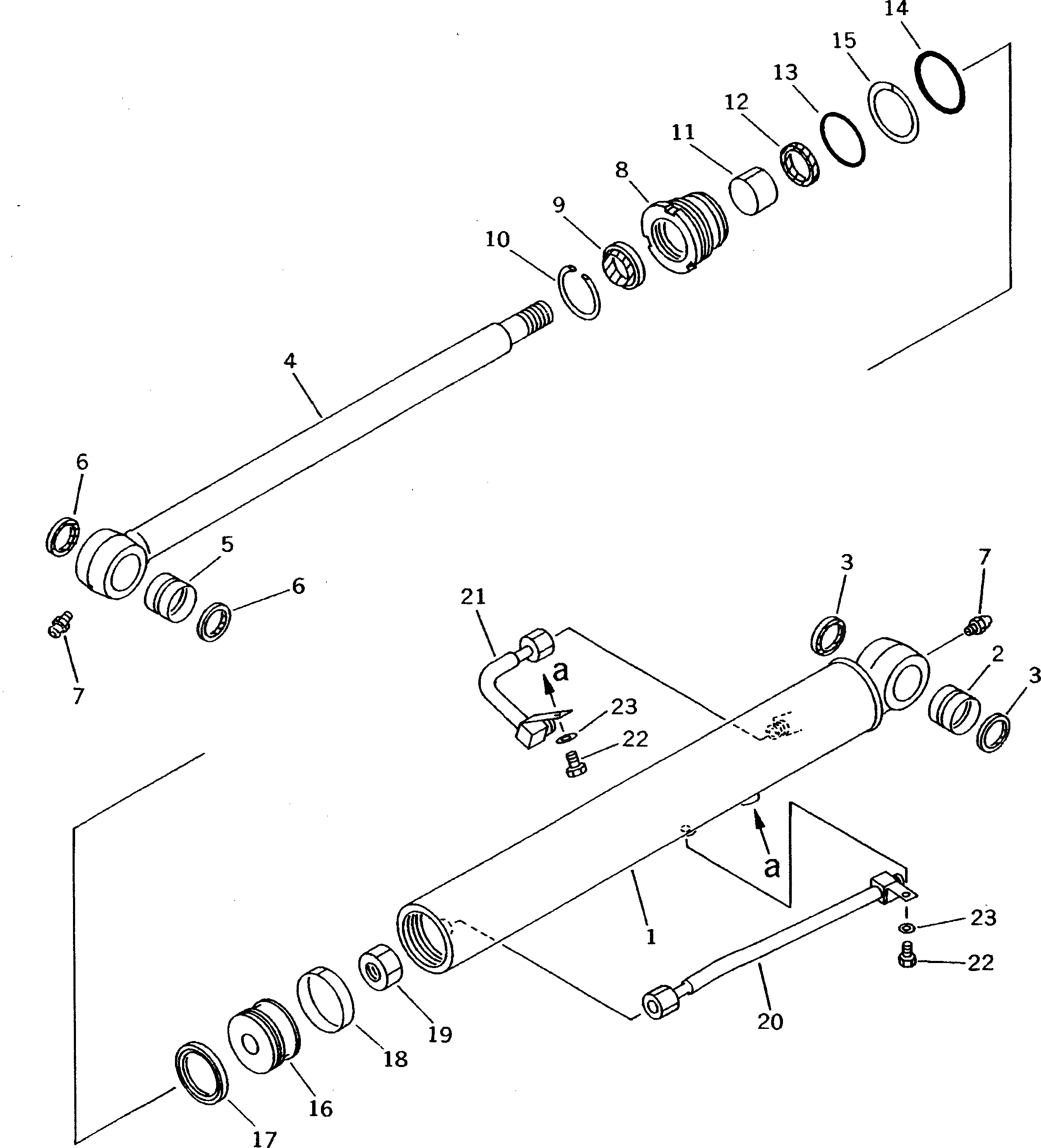
G-1

21W-63-X2151

CYLINDER GROUP,BUCKET

|1

21W-63-02151

CYLINDER ASS'Y,BUCKET

1

21W-63-76241

CYLINDER

2

07144-10505

BUSHING

3

07145-00050

SEAL,DUST (KIT)

4

21W-63-76220

ROD,PISTON

5

07144-10606

BUSHING

6

07145-00060

SEAL,DUST (KIT)

7

07020-00000

FITTING,GREASE

8

707-29-90740

HEAD,CYLINDER

9

707-56-55510

SEAL,DUST (KIT)

10

07179-12069

RING,SNAP

11

07177-05530

BUSHING

12

707-51-55211

PACKING,ROD (KIT)

13

07000-02090

O-RING (KIT)

14

07000-12085

O-RING (KIT)

15

07146-02086

RING,BACK-UP (KIT)

16

707-36-90240

PISTON

17

707-44-90180

RING,PISTON (KIT)

18

07156-00912

RING,WEAR (KIT)

19

07165-13941

NUT

20

21W-63-76271

TUBE

21

21W-63-76281

TUBE

22

01010-51020

BOLT

23

01643-31032

WASHER

Выбрано товаров: 25