Запчасти Komatsu PC75UU-2E КАБИНА (КОРПУС) КАБИНА ОПЕРАТОРА И СИСТЕМА УПРАВЛЕНИЯ

Схема запчастей Komatsu PC75UU-2E - КАБИНА (КОРПУС) КАБИНА ОПЕРАТОРА И СИСТЕМА УПРАВЛЕНИЯ
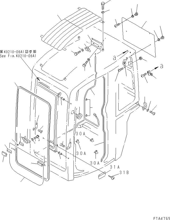
1
2
3
4
5
6
7
8
9
9
10
11
12
12
13
14
15
16
17
18
19
20
21
22
23
24
24
25
25
26
27
28
29
30
31
32
33
34
35
36
37
38
39
40
FIT
1:1
100%

Артикул

Название

Примечание

Количество

|1

21W-54-00055

CAB ASS'Y

|1

21W-54-00054

CAB ASS'Y

|1

21W-54-00053

CAB ASS'Y

|1

21W-54-00052

CAB ASS'Y

|1

21W-54-00051

CAB ASS'Y

|1

21W-54-00050

CAB ASS'Y

1

20U-54-24671

BRACKET

2

01010-50816

BOLT

3

01643-30823

WASHER

4

205-54-63310

LOCK ASS'Y

5

01010-50816

BOLT

6

01643-30823

WASHER

7

20T-54-74311

STOPPER

8

20T-54-74331

STOPPER

9

20Y-54-14280

SCREW

10

205-54-71560

TRIM

|10

20U-54-24380

SEAL

11

20U-54-24651

SEAL,FRONT

12

01641-21016

WASHER

13

20U-54-24592

GLASS,LOWER

|13

20U-54-24591

GLASS,LOWER

14

20U-54-24611

LATCH,L.H.

15

20U-54-24621

LATCH,R.H.

16

20T-54-32780

PACKING

17

20T-54-32870

PACKING¤ 1.0MM

18

20T-54-32750

PACKING¤ 2.0MM

19

20T-54-32760

RETAINER,L.H.

20

20T-54-32770

RETAINER,R.H.

21

01220-40512

SCREW

22

01601-20513

WASHER

23

20U-54-24792

GLASS,REAR¤ UPPER (H377 X W572)

|23

20U-54-24791

GLASS,REAR¤ UPPER (H377 X W592)

|23

20U-54-24790

GLASS,REAR¤ UPPER (H377 X W592)

24

205-54-51720

RETAINER

25

205-54-51730

PACKING

26

01224-40610

SCREW

27

22X-54-19260

LOCK,QUARTER

28

01224-40510

SCREW

29

01584-00504

NUT

30

20U-54-24811

WIRING

31

21W-54-14690

CLIP

32

205-54-51250

HANGER

33

01225-70412

SCREW

34

20U-54-25570

CAP

35

20U-54-25180

COVER

36

01220-70612

SCREW

37

01643-70623

WASHER

38

20U-54-24781

GUARD

39

01010-51025

BOLT

40

01643-31032

WASHER

Выбрано товаров: 50