Запчасти Komatsu PC75UU-3 ТЕЛЕСКОПИЧЕСК. РУКОЯТЬ (РУКОЯТЬ) (УДЛИНН. СИСТ. СМАЗКИ ТИП) РАБОЧЕЕ ОБОРУДОВАНИЕ

Схема запчастей Komatsu PC75UU-3 - ТЕЛЕСКОПИЧЕСК. РУКОЯТЬ (РУКОЯТЬ) (УДЛИНН. СИСТ. СМАЗКИ ТИП) РАБОЧЕЕ ОБОРУДОВАНИЕ
FIT
1:1
100%

Артикул

Название

Примечание

Количество

|1

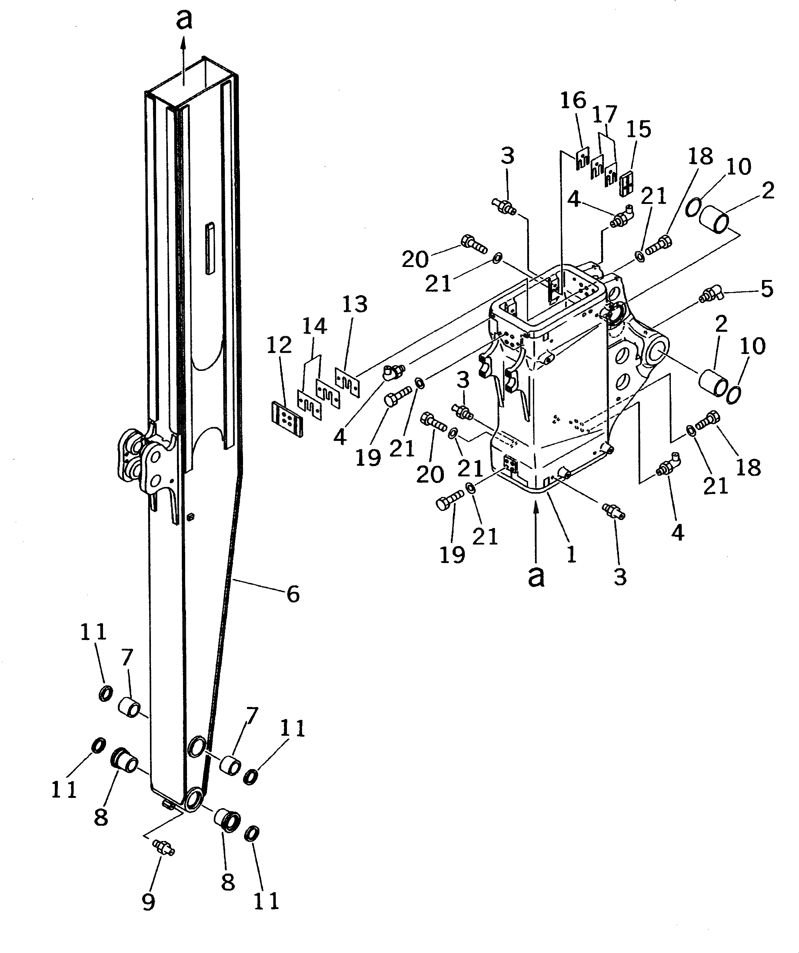
21W-70-00670

BRACKET ASS'Y

1

BRACKET

2

21W-70-31140

BUSHING

3

07020-00000

FITTING,GREASE

4

07020-00900

FITTING,GREASE

5

07020-00675

FITTING,GREASE

|6

21W-70-00430

ARM ASS'Y

6

ARM

7

201-70-22141

BUSHING

8

20X-70-22140

BUSHING

9

07020-00000

FITTING,GREASE

10

07145-00065

SEAL,DUST

11

130-09-12931

SEAL,DUST

12

21W-70-25380

PAD

13

20U-70-25640

SHIM¤ 0.5MM

14

20U-70-25650

SHIM¤ 1.0MM

15

21W-70-25170

PAD

16

21W-70-25180

SHIM¤ 0.5MM

17

21W-70-25190

SHIM¤ 1.0MM

18

01010-81045

BOLT

19

01010-81050

BOLT

20

01010-81055

BOLT

21

01643-31032

WASHER

Выбрано товаров: 23