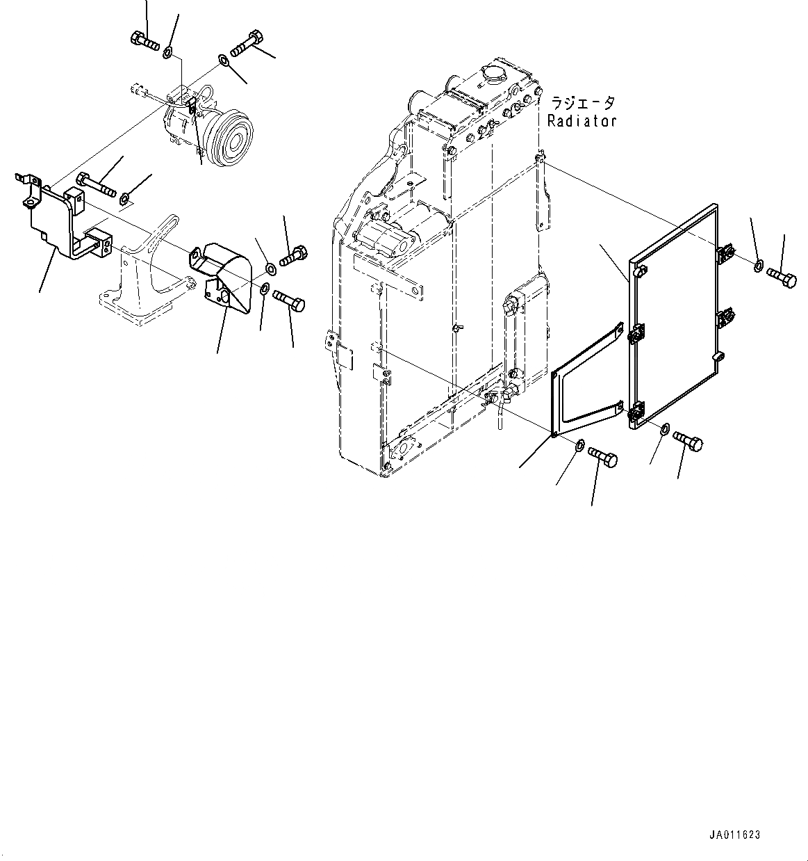
Запчасти Komatsu PC78US-8 БЛОК КОНДИЦИОНЕРА, КОМПРЕССОР КРЕПЛЕНИЕ (№-) БЛОК КОНДИЦИОНЕРА

Схема запчастей Komatsu PC78US-8 - БЛОК КОНДИЦИОНЕРА, КОМПРЕССОР КРЕПЛЕНИЕ (№-) БЛОК КОНДИЦИОНЕРА
13
14
15
16
17
18
17
18
5
6
10
11
12
1
2
3
4
7
8
9
4
FIT
1:1
100%

Артикул

Название

Примечание

Количество

1

22P-979-1261

Bracket

2

01010-81440

Bolt

3

01010-81490

Bolt

4

01643-11445

Washer, Flat

5

01010-80875

Bolt

6

01643-30823

Washer

7

22P-979-1271

Cover

8

01010-80816

Bolt

9

01643-30823

Washer

10

600-051-2050

Clip

11

01010-80816

Bolt

12

01643-30823

Washer

13

22P-979-1311

Condenser Assembly

14

01010-80835

Bolt

15

01643-30823

Washer

16

22P-979-1251

Bracket

17

01010-80820

Bolt

18

01643-30823

Washer

Выбрано товаров: 0