Запчасти Komatsu PC80-1 ЭЛЕКТРИКА(№-) КОМПОНЕНТЫ ДВИГАТЕЛЯ И ЭЛЕКТРИКА

Схема запчастей Komatsu PC80-1 - ЭЛЕКТРИКА(№-) КОМПОНЕНТЫ ДВИГАТЕЛЯ И ЭЛЕКТРИКА
FIT
1:1
100%

Артикул

Название

Примечание

Количество

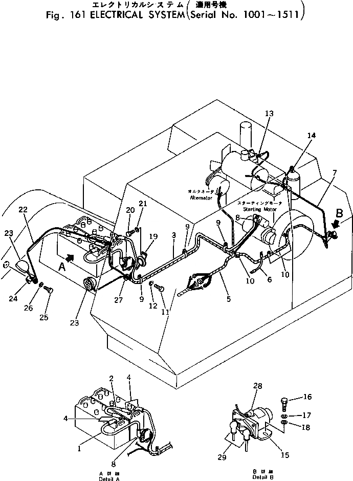
1

08028-13065

WIRE

2

08028-13015

CABLE

3

08028-13250

WIRE

4

201-06-21320

CAP,TERMINAL

5

20X-06-11211

WIRE ASS'Y

6

20X-06-11270

WIRE

7

20X-06-11260

WIRE

8

08038-04030

CAP

9

08036-03014

CLIP

10

08036-01814

CLIP

11

01010-31016

BOLT

12

01602-01030

WASHER,SPRING

13

08620-00000

SENSOR,WATER TEMPERATURE

14

08073-00510

SWITCH,OIL PRESSURE

15

600-815-2360

SWITCH,HEATER

16

01010-30616

BOLT

17

01602-00619

WASHER,SPRING

18

01643-30623

WASHER

19

175-06-39170

HORN

20

01010-30820

BOLT

21

01602-00825

WASHER,SPRING

22

20X-06-11240

WIRE

23

08125-02400

LAMP ASS'Y

23

08107-02460

BULB, 60W

23

08125-00000

BODY

24

201-06-21110

BRACKET

25

01010-31225

BOLT

26

01643-31232

WASHER

27

08037-02512

GROMMET

28

08038-00519

CAP

29

08038-02027

CAP

Выбрано товаров: 31