Запчасти Komatsu PC80-1 ЭЛЕКТРИКА(№-) КОМПОНЕНТЫ ДВИГАТЕЛЯ И ЭЛЕКТРИКА

Схема запчастей Komatsu PC80-1 - ЭЛЕКТРИКА(№-) КОМПОНЕНТЫ ДВИГАТЕЛЯ И ЭЛЕКТРИКА
FIT
1:1
100%

Артикул

Название

Примечание

Количество

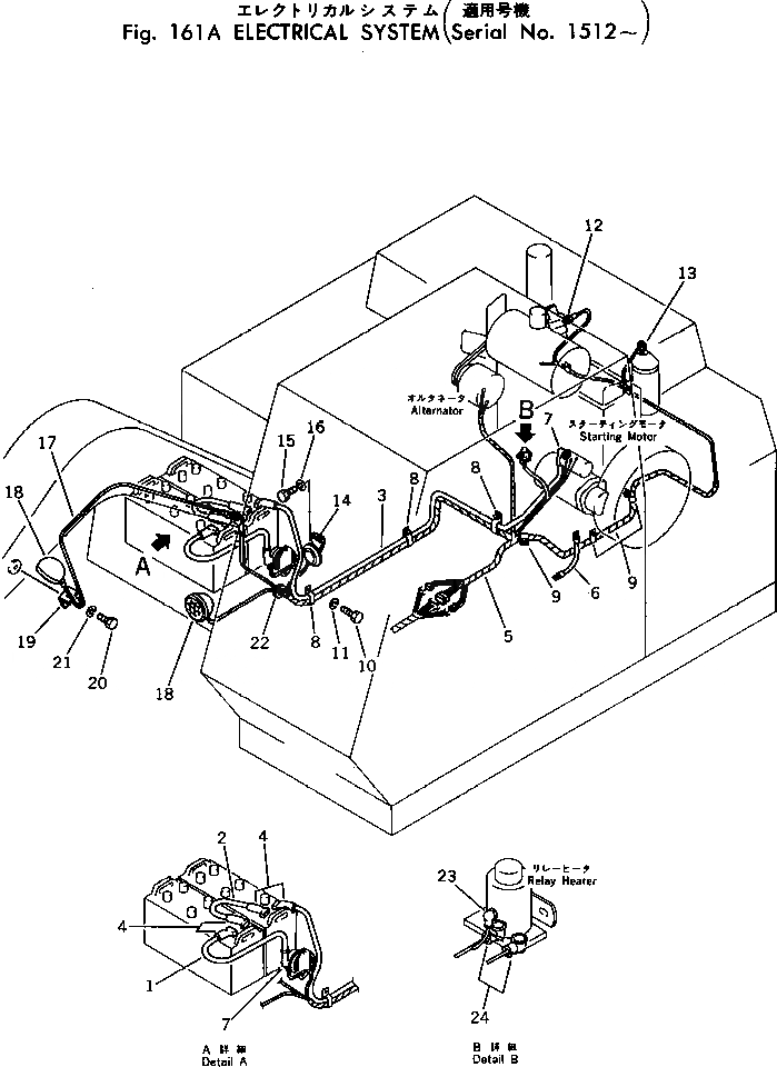
1

08028-13065

WIRE

2

08028-13015

CABLE

3

08028-13250

WIRE

4

201-06-21320

CAP,TERMINAL

5

20X-06-11212

WIRE ASS'Y

6

20X-06-11270

WIRE

7

08038-04030

CAP

8

08036-03014

CLIP

9

08036-01814

CLIP

10

01010-31016

BOLT

11

01602-01030

WASHER,SPRING

12

08620-00000

SENSOR,WATER TEMPERATURE

13

08073-00510

SWITCH,OIL PRESSURE

14

175-06-39170

HORN

15

01010-30820

BOLT

16

01602-00825

WASHER,SPRING

17

20X-06-11240

WIRE

18

08125-02400

LAMP ASS'Y

18

08107-02460

BULB, 60W

18

08125-00000

BODY

19

201-06-21110

BRACKET

20

01010-31225

BOLT

21

01643-31232

WASHER

22

08037-02512

GROMMET

23

08038-00519

CAP

24

08038-02027

CAP

Выбрано товаров: 26