Запчасти Komatsu PC80-1 ГИДРОЛИНИЯ (КЛАПАН TO/FROM ПОВОРОТНОЕ СОЕДИНЕНИЕ)(№-) ХОД И КОНЕЧНАЯ ПЕРЕДАЧА

Схема запчастей Komatsu PC80-1 - ГИДРОЛИНИЯ (КЛАПАН TO/FROM ПОВОРОТНОЕ СОЕДИНЕНИЕ)(№-) ХОД И КОНЕЧНАЯ ПЕРЕДАЧА
FIT
1:1
100%

Артикул

Название

Примечание

Количество

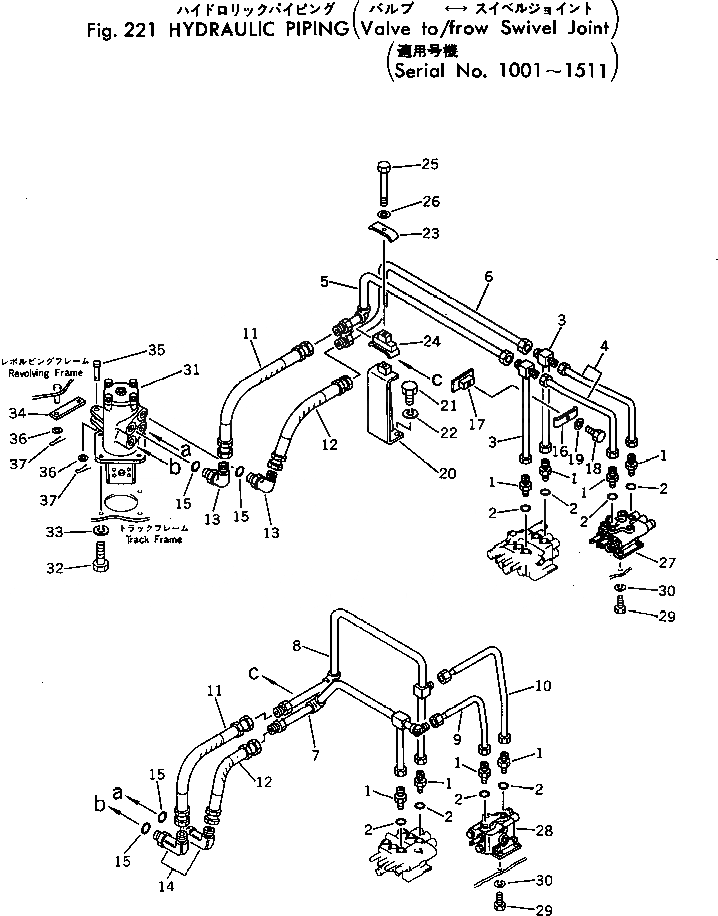
1

201-62-25150

NIPPLE

2

07002-12034

O-RING

3

20X-62-12110

TUBE

4

20X-62-12121

TUBE

5

20X-62-12150

TUBE

6

20X-62-12160

TUBE

7

20X-62-12171

TUBE

8

20X-62-12182

TUBE

9

20X-62-12191

TUBE

10

20X-62-12212

TUBE

11

07121-00607

HOSE

12

07121-00605

HOSE

13

07235-10628

ELBOW

14

20X-62-12450

ELBOW

15

07002-12434

O-RING

16

201-62-21860

CLAMP

17

20X-62-12630

CLAMP

18

01010-31025

BOLT

19

01602-01030

WASHER,SPRING

20

20X-62-12770

BRACKET

21

01010-31225

BOLT

22

01602-01236

WASHER,SPRING

23

201-62-21970

CLAMP

24

20X-62-12640

CLAMP

25

01010-31080

BOLT

26

01602-01030

WASHER,SPRING

27

700-22-42000

VALVE ASS'Y

28

700-21-36000

VALVE ASS'Y

29

01010-30820

BOLT

30

01602-00825

WASHER,SPRING

31

703-08-21501

SWIVEL JOINT ASS'Y

32

01010-31245

BOLT

33

01602-01236

WASHER,SPRING

34

201-60-11240

LINK

35

201-60-11230

PIN

36

01643-31645

WASHER

37

04050-14025

PIN,COTTER

Выбрано товаров: 37