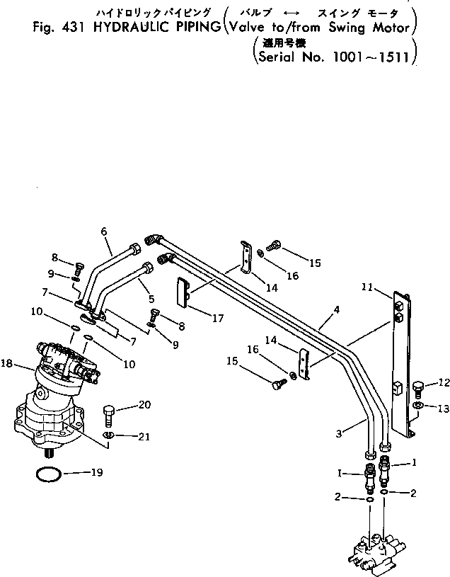
Запчасти Komatsu PC80-1 ГИДРОЛИНИЯ (КЛАПАН TO/FROM МОТОР ПОВОРОТА)(№-) ПОВОРОТН. СИСТЕМА

Схема запчастей Komatsu PC80-1 - ГИДРОЛИНИЯ (КЛАПАН TO/FROM МОТОР ПОВОРОТА)(№-) ПОВОРОТН. СИСТЕМА
FIT
1:1
100%

Артикул

Название

Примечание

Количество

1

20X-62-12411

NIPPLE

2

07002-12034

O-RING

3

20X-62-11911

TUBE

4

20X-62-11921

TUBE

5

20X-62-11930

TUBE

6

20X-62-11940

TUBE

7

07371-30638

FLANGE

8

07372-20830

BOLT

9

01602-00825

WASHER,SPRING

10

07000-13025

O-RING

11

20X-62-12780

BRACKET

12

01010-31225

BOLT

13

01602-01236

WASHER,SPRING

14

20X-62-12650

CLAMP

15

01010-31025

BOLT

16

01602-01030

WASHER,SPRING

17

20X-62-12820

BRACKET

18

706-73-07700

SWING MOTOR ASS'Y

19

07000-02085

O-RING

20

01010-31245

BOLT

21

01602-01236

WASHER,SPRING

Выбрано товаров: 21