Запчасти Komatsu PC80-1 MACHINERY ОБСТАНОВКА (/)(№-) ОСНОВНАЯ РАМА И КАБИНА

Схема запчастей Komatsu PC80-1 - MACHINERY ОБСТАНОВКА (/)(№-) ОСНОВНАЯ РАМА И КАБИНА
FIT
1:1
100%

Артикул

Название

Примечание

Количество

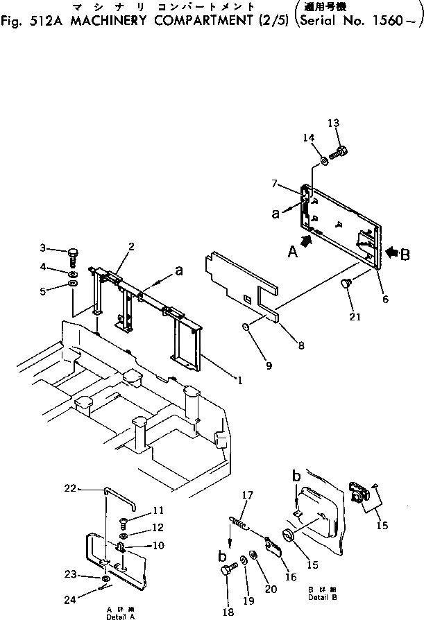
1

20X-54-11343

BRACKET

2

203-54-32151

HINGE (WELDED)

3

01010-31030

BOLT

4

01602-01030

WASHER,SPRING

5

01643-31032

WASHER

|$5

20X-54-12202

COVER ASS'Y

6

COVER

7

203-54-32230

HINGE

8

20X-54-12222

SHEET

9

04431-30000

PLATE

10

201-54-21380

SPRING

11

01220-40406

SCREW

12

01601-00410

WASHER,SPRING

13

01010-31025

BOLT

14

01643-31032

WASHER

15

21T-54-12310

HANDLE,LOCK

16

21T-54-12320

PLATE

17

135-43-14520

SPRING

18

01010-30820

BOLT

19

01602-00825

WASHER,SPRING

20

01643-30823

WASHER

21

203-54-32260

STOPPER

22

203-54-32250

BAR

23

01641-21016

WASHER

24

04050-13018

PIN,COTTER

Выбрано товаров: 25