Запчасти Komatsu PC80-1 MACHINERY ОБСТАНОВКА (/)(№-) ОСНОВНАЯ РАМА И КАБИНА

Схема запчастей Komatsu PC80-1 - MACHINERY ОБСТАНОВКА (/)(№-) ОСНОВНАЯ РАМА И КАБИНА
FIT
1:1
100%

Артикул

Название

Примечание

Количество

|$0

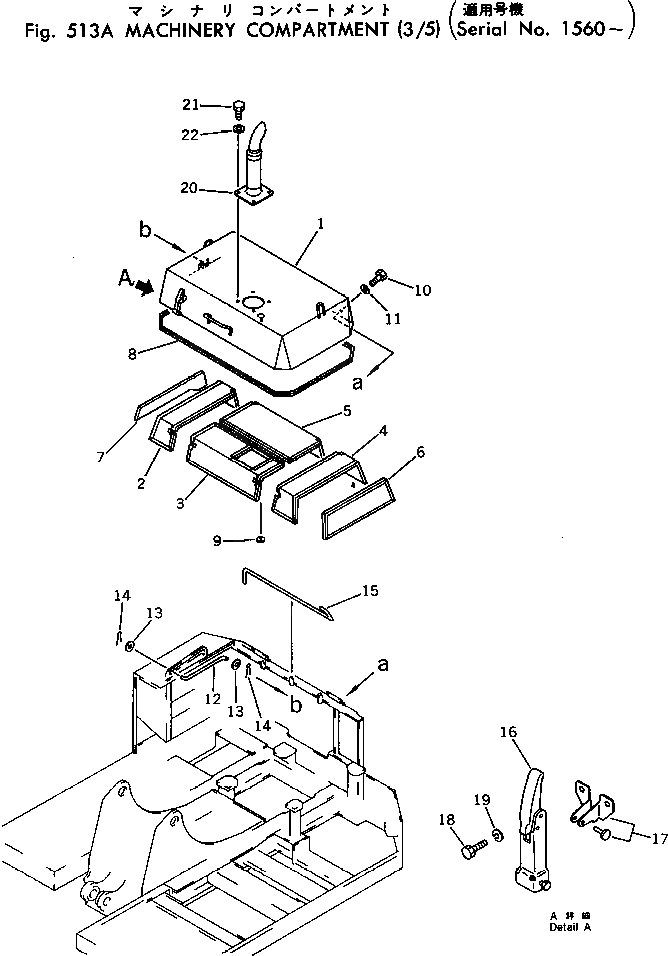
20X-54-11904

HOOD ASS'Y

1

20X-54-11914

HOOD

2

20X-54-11933

SHEET

3

20X-54-11941

SHEET

4

20X-54-11953

SHEET

5

20X-54-11962

SHEET

6

20X-54-11993

SHEET

7

20X-54-11693

SHEET

8

20X-54-11582

SEAL

9

04431-30000

PLATE

10

01010-31025

BOLT

11

01643-31032

WASHER

12

20X-54-11591

ROD

13

01643-31232

WASHER

14

04050-13018

PIN,COTTER

15

203-54-32131

BAR,TORSION

16

201-54-25530

CATCH

17

201-54-25540

SUPPORT

18

01010-30820

BOLT

19

01602-00825

WASHER,SPRING

20

203-01-31211

PIPE,EXHAUST

21

01010-31225

BOLT

22

124-54-26540

WASHER

Выбрано товаров: 23