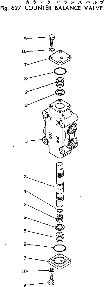
Запчасти Komatsu PC80-1 COUNTER BALANCE КЛАПАН ГИДРАВЛИКА

Схема запчастей Komatsu PC80-1 - COUNTER BALANCE КЛАПАН ГИДРАВЛИКА
FIT
1:1
100%

Артикул

Название

Примечание

Количество

|$0

702-15-14001

VALVE ASS'Y

1

BODY

2

SPOOL

3

706-73-70161

PLUG

4

07002-11623

O-RING

5

702-15-11160

SPRING

6

706-73-71150

RING

7

702-15-11181

COVER

8

07000-13032

O-RING

9

01010-30825

BOLT

10

01602-00825

WASHER,SPRING

Выбрано товаров: 11