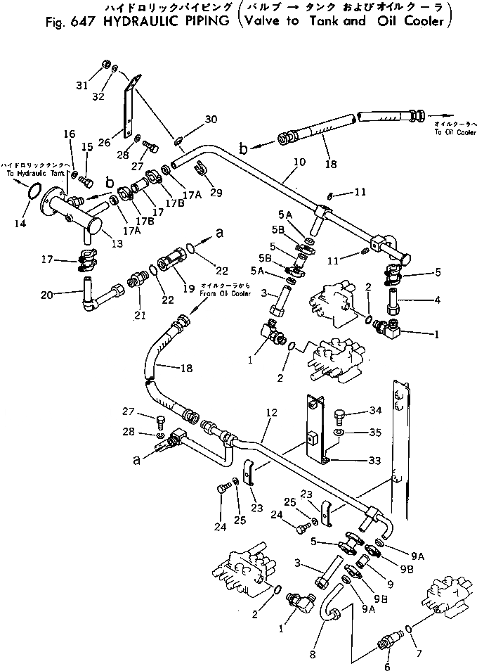
Запчасти Komatsu PC80-1 ГИДРОЛИНИЯ (КЛАПАН - БАК И МАСЛООХЛАДИТЕЛЬ) ГИДРАВЛИКА

Схема запчастей Komatsu PC80-1 - ГИДРОЛИНИЯ (КЛАПАН - БАК И МАСЛООХЛАДИТЕЛЬ) ГИДРАВЛИКА
FIT
1:1
100%

Артикул

Название

Примечание

Количество

1

201-62-25250

ELBOW

2

07002-12434

O-RING

3

20X-62-11351

TUBE

4

20X-62-11381

TUBE

5

07332-00600

COUPLING ASS'Y

5A

07332-50600

GASKET

5B

07332-60600

CLAMP

6

20X-62-12490

NIPPLE

7

07002-12034

O-RING

8

20X-62-11371

TUBE

9

07332-00400

COUPLING ASS'Y

9A

07332-50600

GASKET

9B

07332-60600

CLAMP

10

20X-62-11321

TUBE

11

07042-20108

PLUG

12

20X-62-11331

TUBE

13

20X-62-11311

TUBE

14

07000-02055

O-RING

15

01010-31235

BOLT

16

01602-01236

WASHER,SPRING

17

07332-00600

COUPLING ASS'Y

17A

07332-50600

GASKET

17B

07332-60600

CLAMP

18

07102-20606

HOSE

19

20X-62-11800

VALVE ASS'Y

20

20X-62-11341

TUBE

21

202-62-14170

NIPPLE

22

07002-03334

O-RING

23

20X-62-12621

CLAMP

24

01010-31230

BOLT

25

01602-01236

WASHER,SPRING

26

20X-62-12731

BRACKET

27

01010-31230

BOLT

28

01602-01236

WASHER,SPRING

29

07283-22738

CLIP

30

07283-52737

SEAT,PIPE

31

01599-01011

NUT

32

01643-31032

WASHER

33

20X-62-12791

BRACKET

34

01010-31225

BOLT

35

01602-01236

WASHER,SPRING

Выбрано товаров: 41