Запчасти Komatsu PC80-1 ПАНЕЛЬ ПРИБОРОВ(№-9) КОМПОНЕНТЫ ДВИГАТЕЛЯ И ЭЛЕКТРИКА

Схема запчастей Komatsu PC80-1 - ПАНЕЛЬ ПРИБОРОВ(№-9) КОМПОНЕНТЫ ДВИГАТЕЛЯ И ЭЛЕКТРИКА
FIT
1:1
100%

Артикул

Название

Примечание

Количество

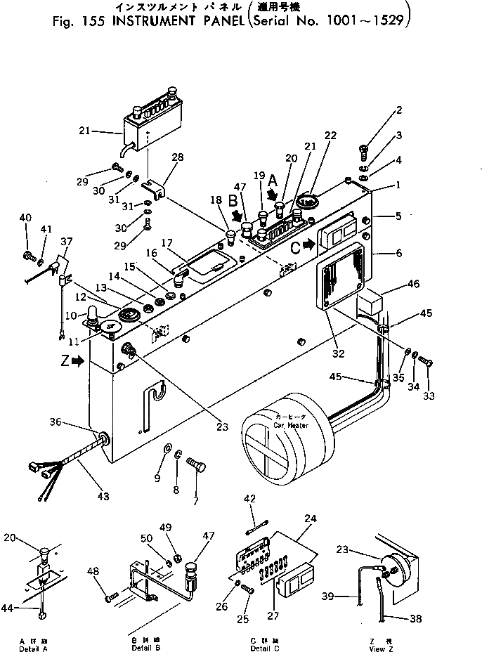
1

207-06-11581

PANEL,INSTRUMENT

2

205-06-62170

BOLT

3

205-06-62180

WASHER,SPRING

4

205-06-62190

WASHER

5

20X-06-11120

COVER

6

20X-06-11131

COVER

7

01010-30816

BOLT

8

01602-00825

WASHER,SPRING

9

01643-30823

WASHER

10

205-06-51320

LAMP,PANEL

10

205-06-51330

BULB

11

09414-00053

CAP

12

203-06-21131

GAUGE,WATER TEMPERATURE

13

125-06-22210

LAMP,OIL PRESSURE

14

125-06-22220

LAMP,BATTERY CHARGE

15

600-815-2371

SIGNAL,HEATER

16

08087-10000

SWITCH,STARTING

17

566-06-16411

ASHTRAY

18

08061-40010

SWITCH,LAMP

19

09481-02400

SWITCH,HEATER

20

08183-00000

SWITCH,WIPER

21

201-06-21480

RADIO,(FOR JAPAN)

21

205-06-62310

RADIO,(FOR JAPAN)

21

209-06-11720

RADIO,(EXCEPT JAPAN)

22

08687-22402

METER,SERVICE

22

08687-22400

METER,SERVICE

23

08066-00000

SWITCH,MAIN

24

175-06-35430

BOX,FUSE

25

01220-40616

SCREW

26

01611-06063

WASHER

27

175-06-35420

FUSE, 10A

27

175-06-35410

FUSE, 20A

27

175-06-35390

FUSE, 30A

27

175-06-35380

FUSE, 40A

28

205-06-62280

BRACKET

29

01220-40512

SCREW

30

01601-20513

WASHER,SPRING

31

01641-20508

WASHER

32

203-06-31410

SPEAKER,(FOR JAPAN)

32

205-06-62320

SPEAKER,(FOR JAPAN)

32

209-06-11730

SPEAKER,(EXCEPT JAPAN)

33

01220-40520

SCREW

34

01601-20513

WASHER,SPRING

35

01641-20508

WASHER

36

08037-02512

GROMMET

37

201-06-21450

CONDENSER

38

20X-06-11170

WIRE

39

20X-06-11180

WIRE

40

01010-30612

BOLT

41

01602-00619

WASHER,SPRING

42

20X-06-11160

WIRE

43

20X-06-11151

WIRE ASS'Y

44

20X-06-11190

WIRE ASS'Y

45

08034-00519

BAND

46

206-54-15750

SEAL

47

198-822-6150

LIGHTER,CIGARETTE

48

01220-40412

SCREW

49

01580-10403

NUT

50

01601-20410

WASHER,SPRING

Выбрано товаров: 59