Запчасти Komatsu PC80-1 КОВШ РАБОЧЕЕ ОБОРУДОВАНИЕ

Схема запчастей Komatsu PC80-1 - КОВШ РАБОЧЕЕ ОБОРУДОВАНИЕ
FIT
1:1
100%

Артикул

Название

Примечание

Количество

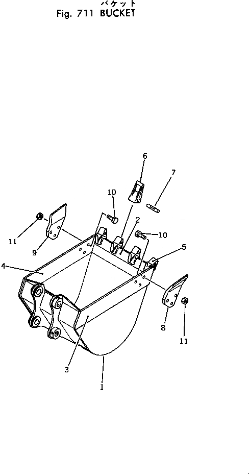
1

20X-70-14112

BUCKET

2

20X-70-14121

LIP (WELDED)

3

20X-70-14132

PLATE,L.H. (WELDED)

4

20X-70-14142

PLATE,R.H. (WELDED)

5

20X-70-14151

ADAPTER (WELDED)

6

20X-70-14160

TOOTH

7

20X-70-00100

PIN ASS'Y

8

20X-933-1110

SIDE CUTTER,SIDE, L.H.

9

20X-933-1120

SIDE CUTTER,SIDE, R.H.

10

01802-02265

BOLT

11

01803-02228

NUT

Выбрано товаров: 11