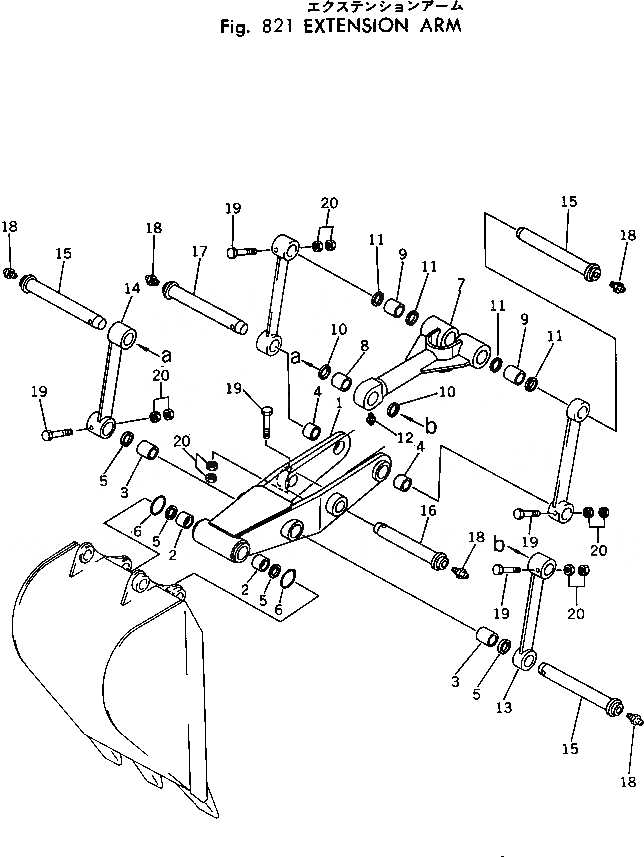
Запчасти Komatsu PC80-1 EXTENSION РУКОЯТЬ ОПЦИОННЫЕ КОМПОНЕНТЫ

Схема запчастей Komatsu PC80-1 - EXTENSION РУКОЯТЬ ОПЦИОННЫЕ КОМПОНЕНТЫ
FIT
1:1
100%

Артикул

Название

Примечание

Количество

|$0

201-945-0011

EXTENSION ARM ASS'Y

1

ARM,EXTENSION

2

201-70-22141

BUSHING

3

201-945-2160

BUSHING

4

07143-10503

BUSHING

5

130-09-12931

SEAL,DUST

6

175-30-16210

O-RING

|$7

201-945-0021

LINK ASS'Y

7

LINK

8

07144-10505

BUSHING

9

201-945-2161

BUSHING

10

07145-00050

SEAL,DUST

11

130-09-12931

SEAL,DUST

12

07020-00675

FITTING,GREASE

13

20X-945-1110

LINK,L.H.

14

20X-945-1120

LINK,R.H.

15

201-945-2150

PIN

16

201-70-11180

PIN

17

201-945-2170

PIN

18

07020-00000

FITTING,GREASE

19

01011-31620

BOLT

20

01580-01613

NUT

Выбрано товаров: 22