Запчасти Komatsu PC80-3 УПРАВЛЯЮЩ. КЛАПАН¤ ПРАВ. (/) ГИДРАВЛИКА

Схема запчастей Komatsu PC80-3 - УПРАВЛЯЮЩ. КЛАПАН¤ ПРАВ. (/) ГИДРАВЛИКА
FIT
1:1
100%

Артикул

Название

Примечание

Количество

|1

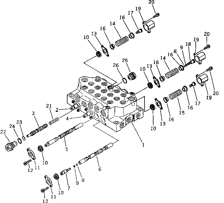
709-25-11202

VALVE ASS'Y,R.H.

|$$2

THIS ASSEMBLY CONSISTS OF ALL PARTS SHOWN IN FIGS.6511 TO 6515.

|1

709-25-00010

BODY ASS'Y

1

BODY,VALVE

2

SPOOL,R.H. TRAVEL

3

SPOOL,STRAIGHT TRAVEL

4

SPOOL,BUCKET

5

SPOOL,BOOM LOW

6

SPOOL,ARM HIGH

7

709-25-11340

JOINT

8

07000-11003

O-RING

9

07001-01003

RING,BACK-UP

10

709-25-11290

SEAL

11

709-25-11320

PLATE

12

01252-30616

BOLT

13

709-25-11310

PLATE

14

700-23-13130

SPRING

15

700-22-11311

SPRING

16

700-22-11291

RETAINER

17

700-22-11321

PLUG

18

709-25-11330

PLUG

19

700-22-11331

COVER

20

01252-30616

BOLT

21

709-25-11410

SPRING

22

709-25-11460

NIPPLE

23

07000-02015

O-RING

24

07002-02434

O-RING

25

709-25-11430

PLUG

26

07002-02434

O-RING

Выбрано товаров: 29