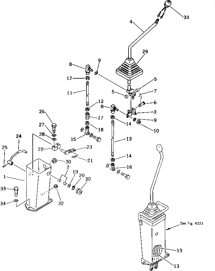
Запчасти Komatsu PC80-3 СПЕЦ. СТОЙКА УПРАВЛ-Я РАБОЧ. ОБОРУД-ЕМ (/) СИСТЕМА УПРАВЛЕНИЯ

Схема запчастей Komatsu PC80-3 - СПЕЦ. СТОЙКА УПРАВЛ-Я РАБОЧ. ОБОРУД-ЕМ (/) СИСТЕМА УПРАВЛЕНИЯ
FIT
1:1
100%

Артикул

Название

Примечание

Количество

1

!201-43-X0020

STAND GROUP,R.H.

1

20X-43-21720

STAND,R.H.

2

203-43-31420

BUSHING

3

205-43-52140

YOKE

4

203-43-42142

LEVER,R.H.

5

203-43-31420

BUSHING

6

04205-01450

PIN

7

04050-14022

PIN,COTTER

8

207-43-11170

JOINT

9

01643-31032

WASHER

10

01582-11008

NUT

11

04245-41029

ROD

12

01582-11008

NUT

13

04245-41031

ROD

14

01582-11008

NUT

15

04252-11061

END,L.H. THREAD

16

04250-41056

END

17

20X-43-24260

TURNBUCKLE

18

01508-21006

NUT,L.H. THREAD

19

01641-21423

WASHER

20

04064-01410

RING,SNAP

21

203-43-21370

SPRING

22

205-43-62330

BLOCK

23

205-43-62320

LEVER

24

205-43-63830

LEVER,R.H.

25

04025-00520

PIN,SPRING

26

01010-50840

BOLT

27

01602-20825

WASHER,SPRING

28

01643-30823

WASHER

29

20X-43-21730

BOOT

30

09415-02512

CAP

31

203-06-21140

SWITCH,HORN

32

08037-01008

GROMMET

33

01010-51230

BOLT

34

01643-31232

WASHER

Выбрано товаров: 0