Запчасти Komatsu PC800-6 ГИДР. БАК. (ДЛЯ ЗАПЫЛЕНН. РАЙОНОВ)(№-) ГИДРАВЛИКА

Схема запчастей Komatsu PC800-6 - ГИДР. БАК. (ДЛЯ ЗАПЫЛЕНН. РАЙОНОВ)(№-) ГИДРАВЛИКА
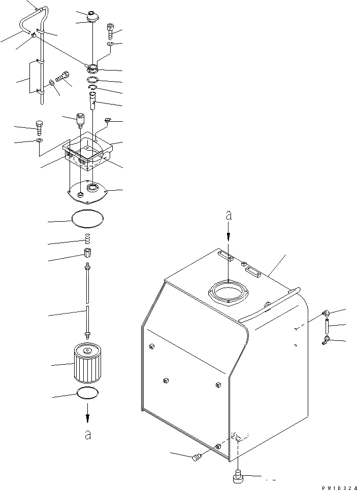
1
2
3
4
5
6
7
8
9
10
11
12
13
14
15
16
17
18
19
20
21
22
23
24
24
24
25
26
27
27
28
29
30
31
32
FIT
1:1
100%

Артикул

Название

Примечание

Количество

1

209-60-77120

COVER

2

07000-15230

O-RING

3

209-60-77330

COVER

4

09455-12013

HINGE (WELDED)

5

209-04-51330

SEAL

6

205-60-71220

LOCK ASS'Y

7

01010-81230

BOLT

8

01643-31232

WASHER

|$13

209-60-77171

STRAINER ASS'Y

9

209-60-77131

ROD ASS'Y

10

12R-60-11230

SPRING

11

20Y-60-21320

HOLDER

12

209-60-51120

STRAINER

13

21N-09-11140

O-RING

14

17A-60-11310

CAP ASS'Y

15

20Y-60-21470

ELEMENT

16

20Y-60-21460

NECK

17

20Y-60-21340

GASKET

18

01252-70516

BOLT

19

01601-20513

WASHER

20

07056-10045

STRAINER

21

04065-04718

RING

22

07270-61420

TUBE

23

07285-00155

CLIP

24

04434-51212

CLIP

25

01010-81225

BOLT

26

01643-31232

WASHER

27

203-60-31100

ELBOW ASS'Y

28

203-60-31160

TUBE

29

198-60-55510

BREATHER

29

424-U40-1120

BREATHER

30

209-60-77112

TANK

31

198-60-19820

VALVE

32

07040-13618

PLUG

Выбрано товаров: 34