Запчасти Komatsu PC800-7-M1 ОСНОВН. КОНСТРУКЦИЯ (ОСНОВ.) КАБИНА ОПЕРАТОРА И СИСТЕМА УПРАВЛЕНИЯ

Схема запчастей Komatsu PC800-7-M1 - ОСНОВН. КОНСТРУКЦИЯ (ОСНОВ.) КАБИНА ОПЕРАТОРА И СИСТЕМА УПРАВЛЕНИЯ
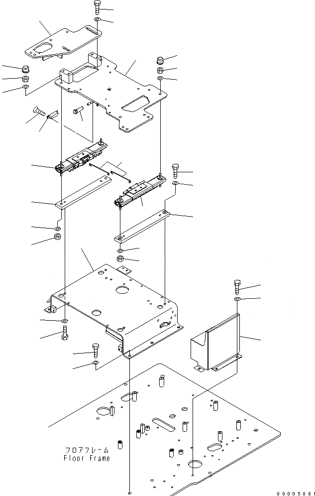
1
2
3
4
4
5
6
7
8
9
10
11
12
13
14
15
16
17
18
18
19
19
20
20
21
22
23
24
25
26
27
28
FIT
1:1
100%

Артикул

Название

Примечание

Количество

1

209-43-73111

BRACKET

2

01010-D1230

BOLT

3

01643-71232

WASHER

4

21N-43-37240

PLATE

5

01010-D1050

BOLT

6

01643-71032

WASHER

7

01010-81025

BOLT

8

01643-31032

WASHER

9

20Y-43-31140

ADJUSTER

10

20Y-54-65340

NUT

11

01643-71032

WASHER

12

20Y-43-31150

ADJUSTER

13

20Y-54-65340

NUT

14

01643-71032

WASHER

15

22U-43-21260

WIRE

16

20Y-54-43150

KNOB

17

209-43-73120

FRAME

18

20Y-54-65340

NUT

19

01643-71032

WASHER

20

20Y-54-65540

CAP

21

09452-06506

CATCHER

22

01224-40410

SCREW

23

20Y-43-31191

FRAME

24

01010-D1230

BOLT

25

22U-54-25170

WASHER

26

20Y-43-31231

COVER

27

01010-D1016

BOLT

28

01643-71032

WASHER

Выбрано товаров: 28