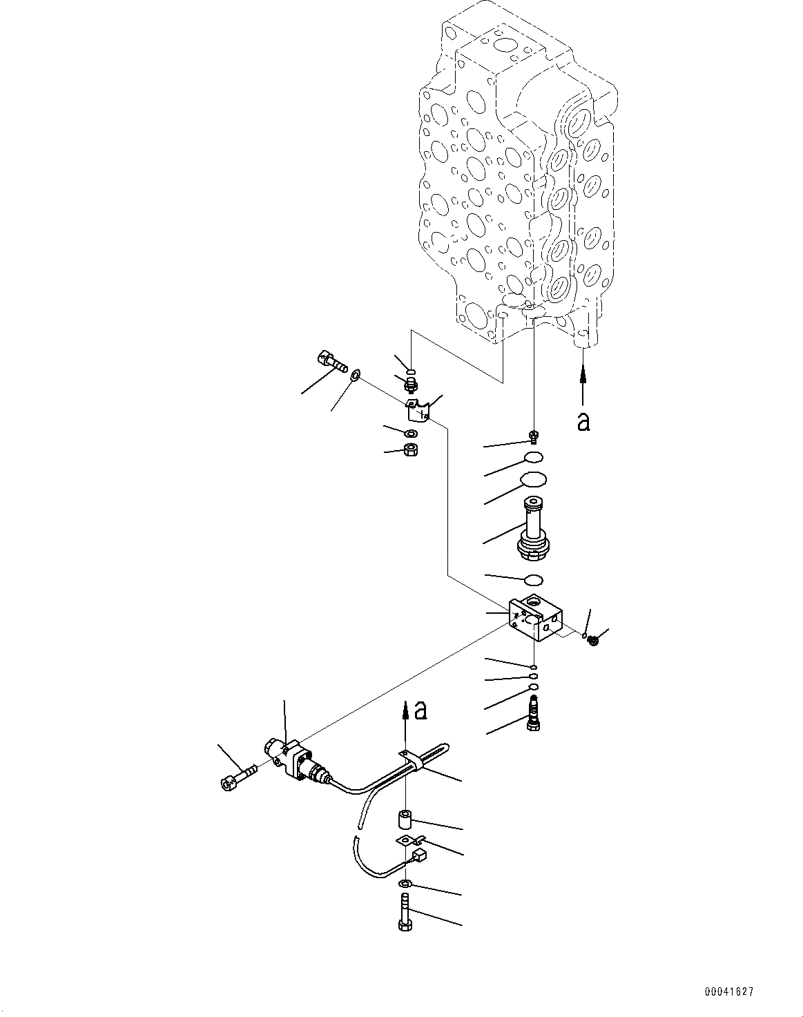
Запчасти Komatsu PC800-8E0 ОСНОВН. УПРАВЛЯЮЩ. КЛАПАН, ЦИЛИНДР СТОПОРН. КЛАПАН, СТРЕЛА И РУКОЯТЬ, ВНУТР. ЧАСТИ, 4-Х СЕКЦИОНН. УПРАВЛЯЮЩ. КЛАПАН (7/7) ОСНОВН. УПРАВЛЯЮЩ. КЛАПАН, ЦИЛИНДР СТОПОРН. КЛАПАН, СТРЕЛА И РУКОЯТЬ

Схема запчастей Komatsu PC800-8E0 - ОСНОВН. УПРАВЛЯЮЩ. КЛАПАН, ЦИЛИНДР СТОПОРН. КЛАПАН, СТРЕЛА И РУКОЯТЬ, ВНУТР. ЧАСТИ, 4-Х СЕКЦИОНН. УПРАВЛЯЮЩ. КЛАПАН (7/7) ОСНОВН. УПРАВЛЯЮЩ. КЛАПАН, ЦИЛИНДР СТОПОРН. КЛАПАН, СТРЕЛА И РУКОЯТЬ
18
17
13
12
15
14
16
2
3
4
1
3
6
11
10
5
7
8
9
24
25
20
23
19
21
22
FIT
1:1
100%

Артикул

Название

Примечание

Количество

|$0

709-14-95500

Valve, Control

|$1

709-10-92400

Orifice Assembly

1

709-10-91370

Orifice

2

709-14-11660

Orifice

3

700-93-11320

O-Ring

4

07002-13634

O-Ring

5

07000-11007

O-Ring

6

709-14-12450

Block

7

07000-12010

O-Ring

8

07000-12012

O-Ring

9

709-14-12460

Plug

10

708-8E-16160

Plug

11

07002-11023

O-Ring

12

01643-30623

Washer

13

01580-10605

Nut

14

709-14-12470

Plug

15

07002-11423

O-Ring

16

709-14-12480

Plate

17

01643-30623

Washer

18

01252-60610

Bolt

19

08193-20010

Clip

20

01010-81045

Bolt

21

6112-21-6960

Spacer

22

04435-50810

Clip

23

01643-31032

Washer

24

729-13-01110

Sensor Assembly

25

01252-60835

Bolt

Выбрано товаров: 27