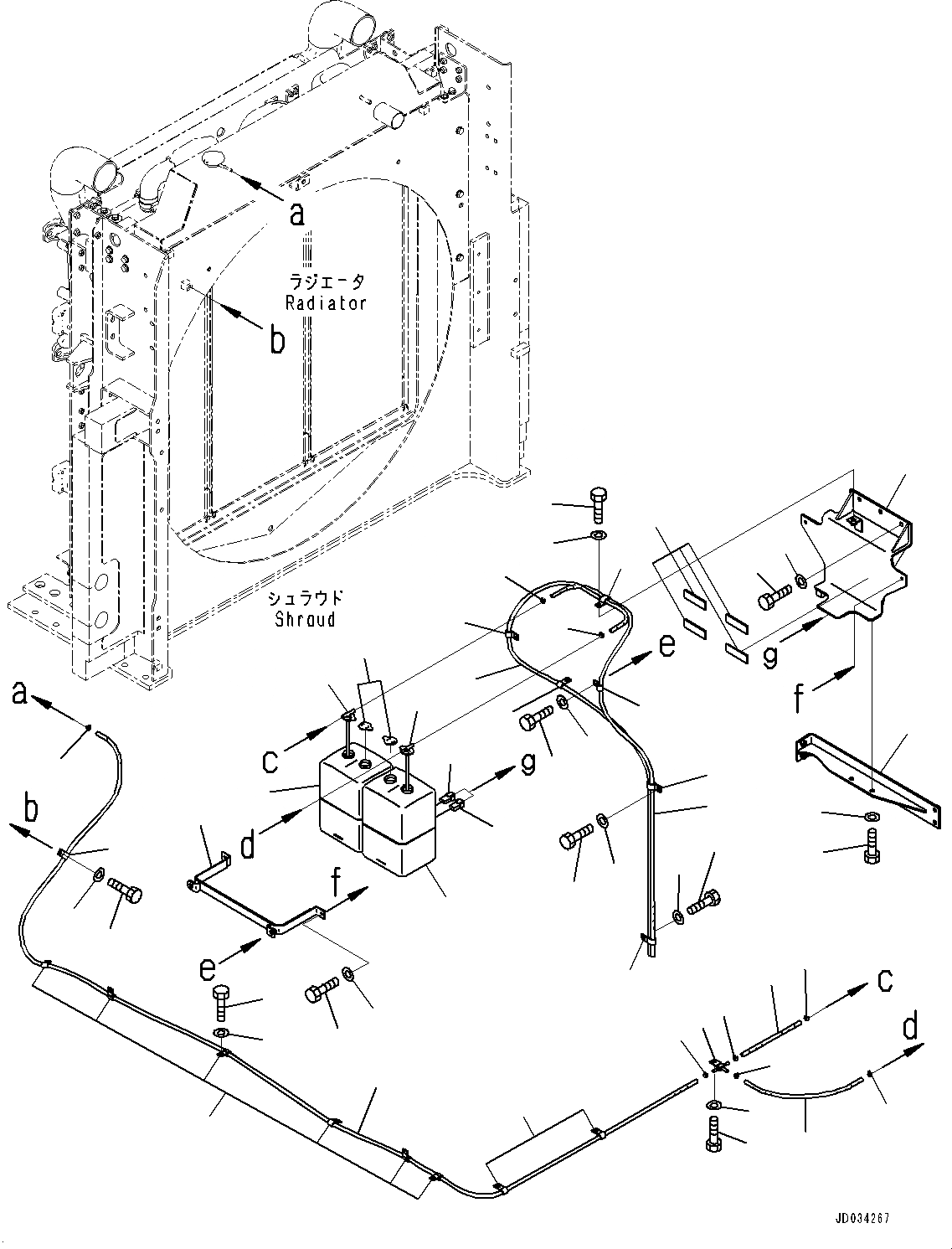
Запчасти Komatsu PC800-8R1 СИСТЕМА ОХЛАЖДЕНИЯ, SUB-БАК (№7-) СИСТЕМА ОХЛАЖДЕНИЯ, С АВТОМАТИЧ. КОНДИЦ. ВОЗДУХА, БОЛ. WIND QUANTITY

Схема запчастей Komatsu PC800-8R1 - СИСТЕМА ОХЛАЖДЕНИЯ, SUB-БАК (№7-) СИСТЕМА ОХЛАЖДЕНИЯ, С АВТОМАТИЧ. КОНДИЦ. ВОЗДУХА, БОЛ. WIND QUANTITY
2
20
7
6
9
8
12
10
14
13
15
14
16
32
18
17
19
21
21
21
26
25
26
23
22
24
25
24
27
30
34
11
11
10
12
10
1
28
29
35
36
33
31
24
26
25
13
3
5
4
2
9
7
16
FIT
1:1
100%

Артикул

Название

Примечание

Количество

1

209-03-41821

Hose

2

07285-00110

Clip

3

198-03-79210

Joint

4

01010-81230

Bolt

5

01643-31232

Washer

6

209-03-77430

Hose

7

07285-00110

Clip

8

209-03-77440

Hose

9

07285-00110

Clip

10

04434-51212

Clip

11

01010-81220

Bolt

12

01643-31232

Washer

13

21N-03-31491

Tank

14

21N-03-32360

Cap Assembly

15

21N-03-32351

Cap Assembly

15

ND071370-0190

Switch

16

08055-00282

Connector

17

203-03-41260

Hose

18

07285-00110

Clip

19

209-03-77420

Hose

20

07285-00110

Clip

21

04434-51212

Clip

22

01010-81220

Bolt

23

01643-31232

Washer

24

04435-51212

Clip

25

01010-81220

Bolt

26

01643-31232

Washer

27

209-03-77340

Band

28

01010-80820

Bolt

29

01643-30823

Washer

30

209-03-77352

Bracket

31

205-03-71440

Sheet

32

01010-81230

Bolt

33

01643-31232

Washer

34

209-03-41991

Bracket

35

01010-81230

Bolt

36

01643-31232

Washer

Выбрано товаров: 37