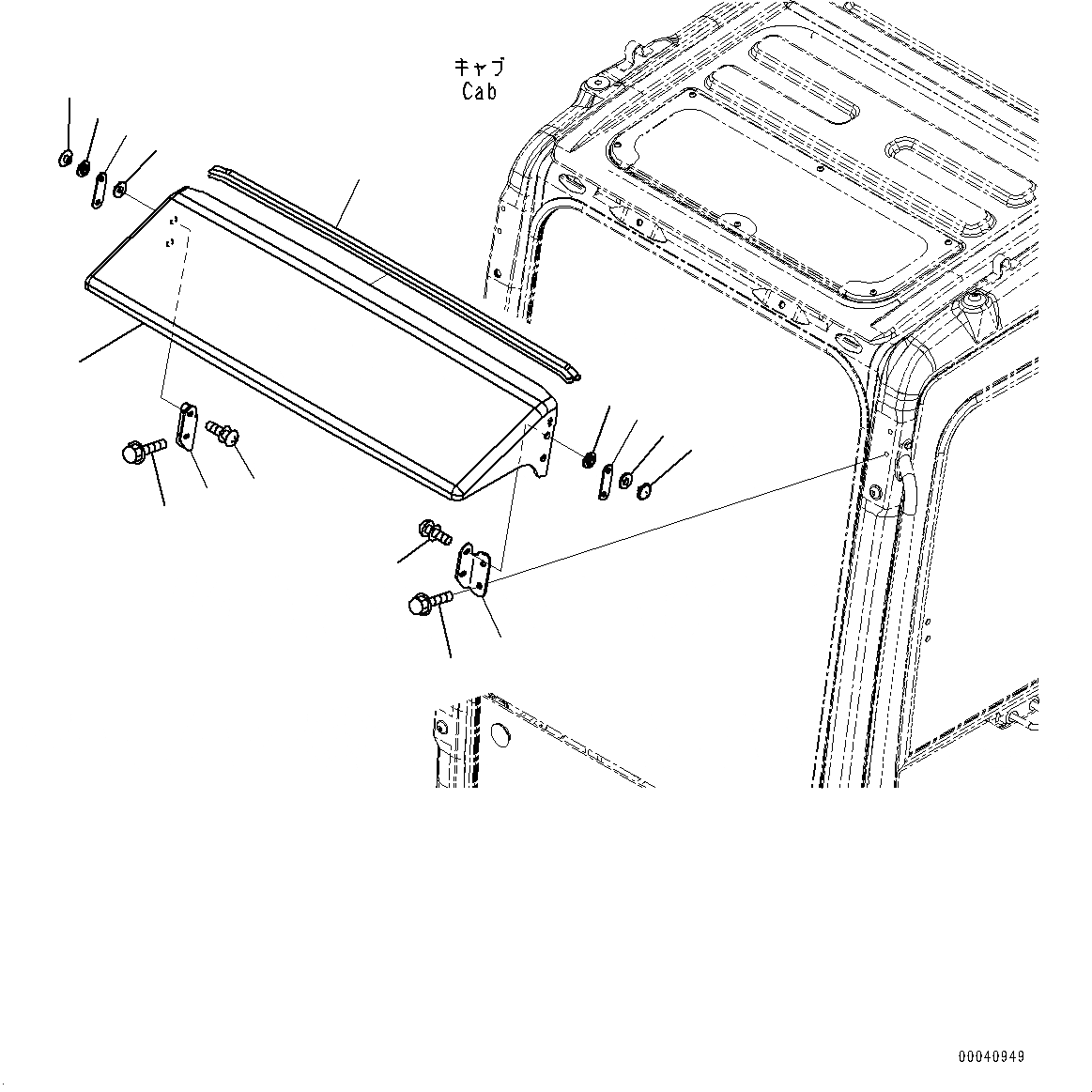
Запчасти Komatsu PC800-8R1 КОЗЫРЕК (№7-) КОЗЫРЕК

Схема запчастей Komatsu PC800-8R1 - КОЗЫРЕК (№7-) КОЗЫРЕК
7
2
6
1
4
5
8
5
6
4
3
5
3
9
5
9
FIT
1:1
100%

Артикул

Название

Примечание

Количество

1

20Y-53-15710

Rain Visor

2

20Y-53-15750

Seal

3

20Y-54-52530

Plate

4

205-54-51720

Retainer

5

205-54-51730

Packing

6

01023-20612

Screw

7

20Y-53-15780

Plate

8

20Y-53-15790

Plate

9

01435-40620

Bolt

Выбрано товаров: 9