Запчасти Komatsu PC800SE-6 ОХЛАЖД-Е (ОХЛАЖД-Е ЧАСТИ КОРПУСА)(№-) СИСТЕМА ОХЛАЖДЕНИЯ

Схема запчастей Komatsu PC800SE-6 - ОХЛАЖД-Е (ОХЛАЖД-Е ЧАСТИ КОРПУСА)(№-) СИСТЕМА ОХЛАЖДЕНИЯ
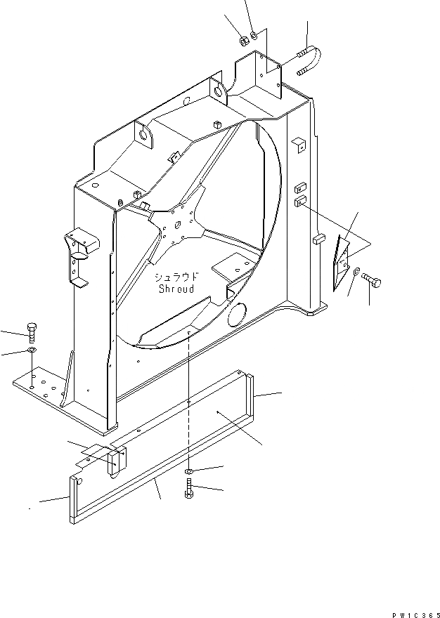
1
2
3
4
5
5
6
7
8
9
10
11
12
13
14
FIT
1:1
100%

Артикул

Название

Примечание

Количество

1

209-03-77311

COVER

2

01010-81225

BOLT

3

01643-31232

WASHER

4

209-03-77191

WIND-BRAKER

5

209-03-77260

SHEET

6

209-03-77270

SHEET

7

209-03-77390

SHEET

8

01010-81230

BOLT

9

01643-31232

WASHER

10

01010-81650

BOLT

11

01643-31645

WASHER

12

07283-31079

CLIP

13

01599-01214

NUT

14

01643-31232

WASHER

Выбрано товаров: 14