Запчасти Komatsu PC800SE-6 ОХЛАЖД-Е (ВТОРИЧН. БАК)(№-999) СИСТЕМА ОХЛАЖДЕНИЯ

Схема запчастей Komatsu PC800SE-6 - ОХЛАЖД-Е (ВТОРИЧН. БАК)(№-999) СИСТЕМА ОХЛАЖДЕНИЯ
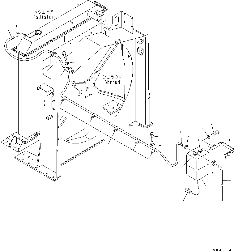
1
1A
1B
2
3
3
4
4
5
6
7
8
9
10
10
11
11
12
12
13
FIT
1:1
100%

Артикул

Название

Примечание

Количество

1

21N-03-31490

TANK

1

209-03-71312

TANK

1A

21N-03-32350

CAP ASS'Y

1B

21N-03-32360

CAP ASS'Y

|$8

ND071370-0190

SWITCH

2

08055-00282

CONNECTOR

3

209-03-71291

HOSE

3

209-03-71290

HOSE

4

07285-00110

CLIP

4

07285-00100

CLIP

5

209-03-71330

BAND

6

01010-80820

BOLT

7

01643-30823

WASHER

8

203-03-41262

HOSE

9

07285-00110

CLIP

9

07285-00100

CLIP

10

08036-90814

CLIP

11

01010-81220

BOLT

11

01010-51220

BOLT

12

01643-31232

WASHER

13

08037-03620

GROMMET

Выбрано товаров: 21