Запчасти Komatsu PC800SE-6 СТРЕЛА (7.M) (СТРЕЛА ПАЛЕЦ) (ДЛЯ ЭКСКАВАТ.)(№-999) РАБОЧЕЕ ОБОРУДОВАНИЕ

Схема запчастей Komatsu PC800SE-6 - СТРЕЛА (7.M) (СТРЕЛА ПАЛЕЦ) (ДЛЯ ЭКСКАВАТ.)(№-999) РАБОЧЕЕ ОБОРУДОВАНИЕ
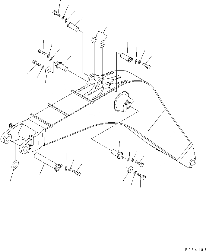
1
1
2
2
3
3
4
4
5
5
6
6
7
7
8
9
10
11
12
13
13
14
14
15
15
16
16
17
FIT
1:1
100%

Артикул

Название

Примечание

Количество

1

209-70-57141

PIN

2

21N-70-11230

PLATE

3

01010-81640

BOLT

|3

01010-51640

BOLT

4

01643-31645

WASHER

5

209-70-71260

PLATE

6

01010-83075

BOLT

7

01643-33080

WASHER

8

209-70-57161

PIN

9

209-72-11180

SHIM¤ 1.0MM

10

21N-70-11230

PLATE

11

01010-81640

BOLT

|11

01010-51640

BOLT

12

01643-31645

WASHER

13

209-70-71331

PIN

14

21N-70-11230

PLATE

15

01010-81640

BOLT

|15

01010-51640

BOLT

16

01643-31645

WASHER

17

207-70-11360

SPACER¤ 1.0MM

Выбрано товаров: 20