Запчасти Komatsu PC80LC-3 СЕРВОКЛАПАН¤ ЗАДН. (БЕЗ ВЫБОР РЕЖИМА OLSS) ГИДРАВЛИКА

Схема запчастей Komatsu PC80LC-3 - СЕРВОКЛАПАН¤ ЗАДН. (БЕЗ ВЫБОР РЕЖИМА OLSS) ГИДРАВЛИКА
FIT
1:1
100%

Артикул

Название

Примечание

Количество

|$0

708-21-01040

PUMP ASS'Y,(HPV35+35)

|$1

708-21-10701

PUMP ASS'Y,(HPV35+35)

|$2

708-21-10700

PUMP ASS'Y,(HPV35+35)

|$$4

THESE ASSEMBLIES CONSIST OF ALL PARTS SHOWN IN FIGS.6201 TO 6231.

|$4

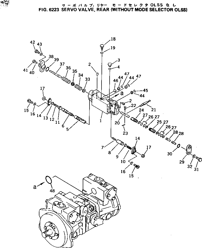
708-21-16901

SERVO VALVE ASS'Y,REAR

|$5

BODY ASS'Y,REAR

1

BODY

2

PLUG

3

PLUG

4

O-RING

5

SLEEVE

6

SPOOL

7

SPRING

8

SPACER

9

07000-02012

O-RING

10

SCREW

11

PLUG

12

SCREW

13

O-RING

14

COVER

15

BOLT

16

WASHER,SPRING

17

NUT

18

PLUG

19

O-RING

20

PISTON

21

ARM

22

PIN

23

PIN,COTTER

24

SLEEVE

25

SLEEVE

26

O-RING

27

RING,BACK-UP

28

PISTON

29

COVER

30

O-RING

31

BOLT

32

WASHER,SPRING

33

SEAT

34

SPRING

35

SEAT

36

SPRING

37

ROD

38

COVER

39

O-RING

40

O-RING

41

NUT

42

BOLT

43

WASHER,SPRING

44

720-68-11920

FILTER

45

07000-12010

O-RING

46

708-21-19150

ORIFICE

47

07000-02010

O-RING

48

07000-03048

O-RING

Выбрано товаров: 54