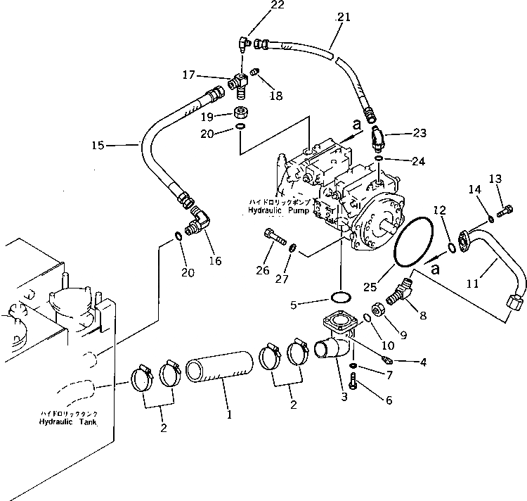
Запчасти Komatsu PC80LC-3 ГИДРОЛИНИЯ (ИЗ БАКА В НАСОС) ГИДРАВЛИКА

Схема запчастей Komatsu PC80LC-3 - ГИДРОЛИНИЯ (ИЗ БАКА В НАСОС) ГИДРАВЛИКА
FIT
1:1
100%

Артикул

Название

Примечание

Количество

1

07260-25828

HOSE

2

07281-00809

CLAMP

3

20X-62-21111

ELBOW

4

07042-70211

PLUG

5

07000-02060

O-RING

6

01010-51030

BOLT

7

01643-31032

WASHER

8

07234-20628

ELBOW

9

07239-12410

NUT

10

07002-02434

O-RING

11

20X-62-21120

TUBE

12

07000-03028

O-RING

13

01010-51030

BOLT

14

01643-31032

WASHER

15

07102-20604

HOSE

16

07235-10628

ELBOW

17

203-62-42640

ELBOW

18

07042-30108

PLUG

19

07239-12410

NUT

20

07002-02434

O-RING

21

07102-20403

HOSE

22

20R-03-12130

ELBOW

23

07235-10422

ELBOW

24

07002-02034

O-RING

25

07000-05195

O-RING

26

01010-51240

BOLT

27

01643-31232

WASHER

Выбрано товаров: 0