Запчасти Komatsu PC80LC-3 МЕХАНИЗМ УПРАВЛ-Я ПОДАЧЕЙ ТОПЛИВА (С АВТОМАТИЧ. DECELERATON) (С ВЫБОРОМ РЕЖИМА OLSS) СИСТЕМА УПРАВЛЕНИЯ

Схема запчастей Komatsu PC80LC-3 - МЕХАНИЗМ УПРАВЛ-Я ПОДАЧЕЙ ТОПЛИВА (С АВТОМАТИЧ. DECELERATON) (С ВЫБОРОМ РЕЖИМА OLSS) СИСТЕМА УПРАВЛЕНИЯ
FIT
1:1
100%

Артикул

Название

Примечание

Количество

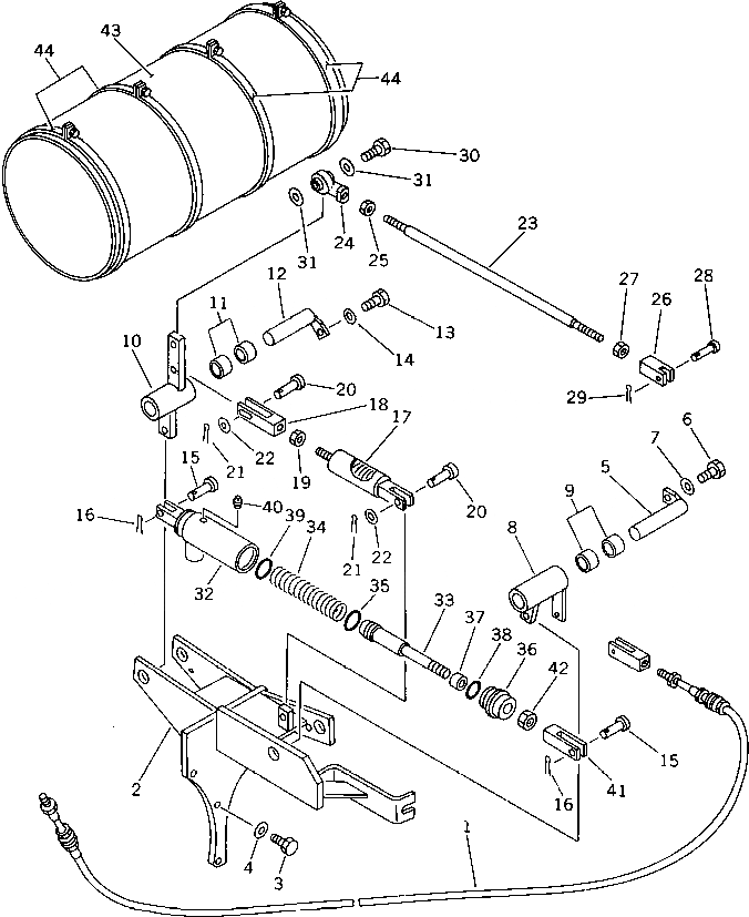
1

20X-43-22560

CABLE

2

20X-43-22511

BRACKET

3

01010-51045

BOLT

4

01643-31032

WASHER

5

203-43-42910

SHAFT

6

01010-50816

BOLT

7

01643-30823

WASHER

8

20X-43-22541

LEVER

9

09350-02220

BUSHING

10

20X-43-22521

LEVER

11

09350-02220

BUSHING

12

20X-43-22530

SHAFT

13

01010-50816

BOLT

14

01643-30823

WASHER

15

04205-11028

PIN

16

04050-13020

PIN,COTTER

|$16

203-43-44220

SPRING ASS'Y

17

203-43-44190

SPRING

18

202-43-11355

YOKE

19

01582-21008

NUT

20

04205-11030

PIN

21

04050-13020

PIN,COTTER

22

01641-21016

WASHER

23

20X-43-22550

ROD

24

04250-61056

END,ROD

25

01508-21006

NUT

26

201-43-21370

YOKE

27

01582-11008

NUT

28

04205-10622

PIN

29

04050-11610

PIN,COTTER

30

01010-51030

BOLT

31

01643-31032

WASHER

|$32

203-62-44535

CYLINDER ASS'Y

32

203-62-44942

CYLINDER

33

203-62-44742

PISTON

34

203-62-44960

SPRING

35

07000-03022

O-RING

36

203-62-44950

PLUG

37

20X-62-13622

BUSHING

38

07000-02015

O-RING

39

07002-03334

O-RING

40

07042-20108

PLUG

41

203-43-44270

YOKE

42

01582-11411

NUT

43

20X-01-24130

BAFFLE

44

07281-02429

CLAMP

45

04211-20634

YOKE

46

04205-10618

PIN

47

04050-11612

PIN,COTTER

Выбрано товаров: 49