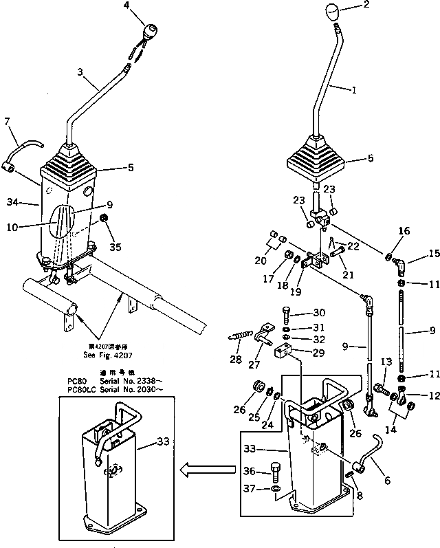
Запчасти Komatsu PC80LC-3 СТОЙКА УПРАВЛ-Я РАБОЧ. ОБОРУД-ЕМ СИСТЕМА УПРАВЛЕНИЯ

Схема запчастей Komatsu PC80LC-3 - СТОЙКА УПРАВЛ-Я РАБОЧ. ОБОРУД-ЕМ СИСТЕМА УПРАВЛЕНИЯ
FIT
1:1
100%

Артикул

Название

Примечание

Количество

1

203-43-42132

LEVER,L.H.

2

20D-43-11370

KNOB

3

203-43-42142

LEVER,R.H.

4

203-06-21140

SWITCH,HORN

5

20X-43-21730

BOOT

6

205-43-63820

LEVER,L.H.

7

205-43-63830

LEVER,R.H.

8

04025-00520

PIN,SPRING

9

04245-41031

ROD

10

04245-41029

ROD

11

01582-11008

NUT

12

04250-41056

END,ROD

13

01010-51030

BOLT

14

01643-31032

WASHER

14

04254-41032

SPACER

15

207-43-11170

JOINT

16

01643-31032

WASHER

17

01582-11008

NUT

18

01643-31032

WASHER

19

205-43-52140

YOKE

20

203-43-31420

BUSHING

21

04205-01450

PIN

22

04050-14022

PIN,COTTER

23

203-43-31420

BUSHING

24

01641-21423

WASHER

25

04064-01410

RING,SNAP

26

09415-02512

CAP

27

205-43-62320

LEVER

28

203-43-21370

SPRING

29

205-43-62330

BLOCK

30

01010-50840

BOLT

31

01602-20825

WASHER,SPRING

32

01643-30823

WASHER

33

20X-43-21711

STAND,L.H.

33

20X-43-21710

STAND,L.H.

34

20X-43-21720

STAND,R.H.

35

08037-01008

GROMMET

36

01010-51230

BOLT

37

01643-31232

WASHER

Выбрано товаров: 39