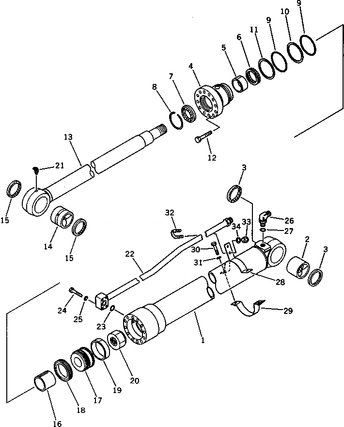
Запчасти Komatsu PC80LC-3 ЦИЛИНДР РУКОЯТИ РАБОЧЕЕ ОБОРУДОВАНИЕ

Схема запчастей Komatsu PC80LC-3 - ЦИЛИНДР РУКОЯТИ РАБОЧЕЕ ОБОРУДОВАНИЕ
FIT
1:1
100%

Артикул

Название

Примечание

Количество

|1

20X-63-02020

CYLINDER ASS'Y

1

20X-63-66542

CYLINDER

2

707-76-65140

BUSHING

3

07145-00065

SEAL,DUST

4

707-28-10170

HEAD,CYLINDER

5

07177-06530

BUSHING

6

707-51-65211

PACKING,ROD

7

144-63-92170

SEAL,DUST

8

07179-00088

RING,SNAP

9

07000-12095

O-RING

10

07146-02096

RING,BACK-UP

11

707-35-91010

RING,BACK-UP

12

01010-81450

BOLT

13

20X-63-66521

ROD,PISTON

14

707-76-65040

BUSHING

15

07145-00065

SEAL,DUST

16

707-71-50540

PLUNGER

17

707-36-10261

PISTON

18

707-44-10080

RING,PISTON

19

07155-01025

RING,WEAR

20

07165-14547

NUT

21

07020-00675

FITTING,GREASE

22

20X-63-66571

TUBE

23

07000-13025

O-RING

24

01010-50850

BOLT

25

01602-20825

WASHER,SPRING

26

07235-10422

ELBOW

27

07002-12034

O-RING

28

707-88-99780

BAND

29

707-88-99020

BAND

30

01010-51035

BOLT

31

01602-21030

WASHER,SPRING

32

07283-22236

CLIP

33

01599-01011

NUT

34

01643-31032

WASHER

Выбрано товаров: 0