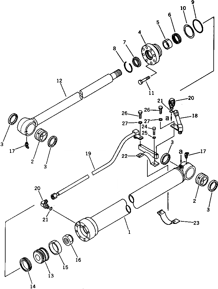
Запчасти Komatsu PC80LC-3 ЦИЛИНДР КОВША РАБОЧЕЕ ОБОРУДОВАНИЕ

Схема запчастей Komatsu PC80LC-3 - ЦИЛИНДР КОВША РАБОЧЕЕ ОБОРУДОВАНИЕ
FIT
1:1
100%

Артикул

Название

Примечание

Количество

|1

20X-63-02030

CYLINDER ASS'Y

1

20X-63-76541

CYLINDER

2

707-76-60080

BUSHING

3

07145-00060

SEAL,DUST

4

707-27-90170

HEAD,CYLINDER

5

07177-05530

BUSHING

6

707-51-55211

PACKING,ROD

7

707-56-55510

SEAL,DUST

8

07179-00077

RING,SNAP

9

07000-12090

O-RING

10

07001-02090

RING,BACK-UP

11

01010-81450

BOLT

12

20X-63-76520

ROD,PISTON

13

707-36-90271

PISTON

14

707-44-90080

RING,PISTON

15

07155-00925

RING,WEAR

16

07165-13941

NUT

17

07020-00675

FITTING,GREASE

18

20X-63-76582

TUBE

19

20X-63-76572

TUBE

20

07235-10422

ELBOW

21

07002-12034

O-RING

22

707-88-99972

BRACKET

23

707-88-99900

BAND

24

01010-51035

BOLT

25

01602-21030

WASHER,SPRING

26

01010-51020

BOLT

27

01643-31032

WASHER

Выбрано товаров: 28