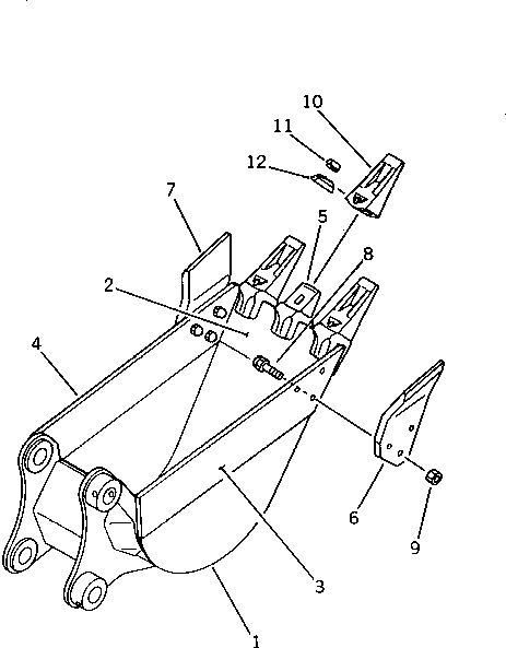
Запчасти Komatsu PC80LC-3 КОВШ¤ .M ШИР. MM РАБОЧЕЕ ОБОРУДОВАНИЕ

Схема запчастей Komatsu PC80LC-3 - КОВШ¤ .M ШИР. MM РАБОЧЕЕ ОБОРУДОВАНИЕ
FIT
1:1
100%

Артикул

Название

Примечание

Количество

|1

201-926-0110

BUCKET ASS'Y

1

20X-926-2410

BUCKET

2

20X-926-2420

LIP (WELDED)

3

20X-926-1331

PLATE,L.H. (WELDED)

4

20X-926-1341

PLATE,R.H. (WELDED)

5

20X-70-23150

ADAPTER (WELDED)

6

20X-933-1110

SIDE CUTTER,L.H.

7

20X-933-1120

SIDE CUTTER,R.H.

8

01802-02268

BOLT

9

01803-02228

NUT

10

20X-70-23160

TOOTH

11

203-70-43211

PIN

12

203-70-43220

PIN

Выбрано товаров: 13