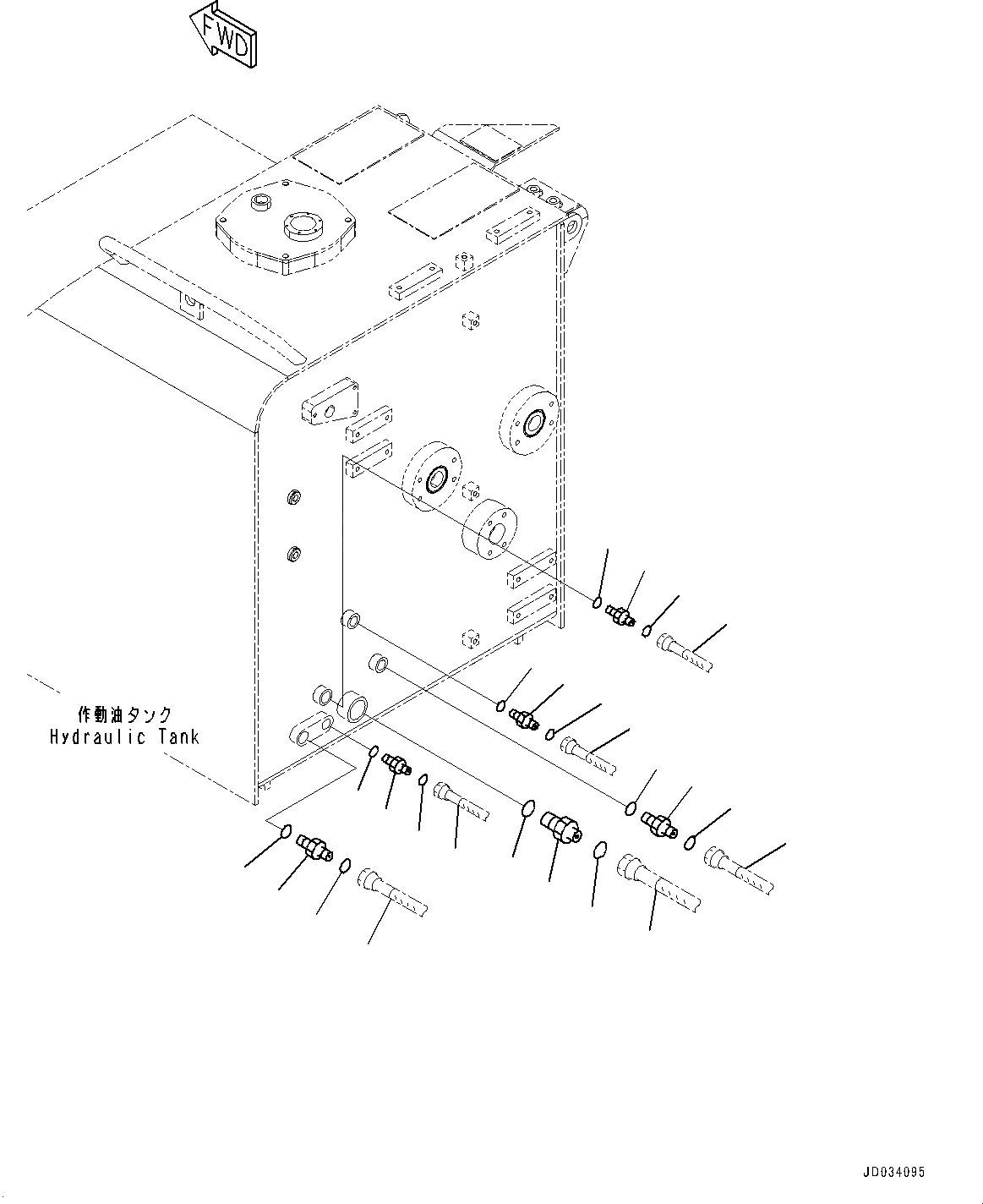
Запчасти Komatsu PC850-8E0 ГИДР. БАК., ДРЕНАЖН. PORT (№-) ГИДР. БАК., КРЫШКА МАСЛОНАЛИВНОГО ПАТРУБКА БЛОКИРОВКА И КРЫШКИБЛОКИР.

Схема запчастей Komatsu PC850-8E0 - ГИДР. БАК., ДРЕНАЖН. PORT (№-) ГИДР. БАК., КРЫШКА МАСЛОНАЛИВНОГО ПАТРУБКА БЛОКИРОВКА И КРЫШКИБЛОКИР.
11
12
12
11
10
9
7
8
6
9
5
4
3
2
1
10
8
7
13
14
15
16
17
18
FIT
1:1
100%

Артикул

Название

Примечание

Количество

1

209-62-41581

Union

2

207-62-64740

O-ring

3

07002-64234

O-ring

4

02781-00315

Union

5

02896-11009

O-ring

6

07002-12034

O-ring

7

02781-00422

Union

8

02896-11012

O-ring

9

07002-12034

O-ring

10

02781-00628

Union

11

02896-61018

O-ring

12

07002-62434

O-ring

13

209-62-41490

Hose

14

209-62-45490

Hose

15

209-62-45470

Hose

16

02761-00324

Hose, Face Seal Type

17

02762-00426

Hose, Face Seal Type

18

02762-00628

Hose, Face Seal Type

Выбрано товаров: 18