Запчасти Komatsu PC850-8R РУКОЯТЬ (.M) (УСИЛ.) (СМАЗКА) (ДЛЯ ЭКСКАВАТ.) РАБОЧЕЕ ОБОРУДОВАНИЕ

Схема запчастей Komatsu PC850-8R - РУКОЯТЬ (.M) (УСИЛ.) (СМАЗКА) (ДЛЯ ЭКСКАВАТ.) РАБОЧЕЕ ОБОРУДОВАНИЕ
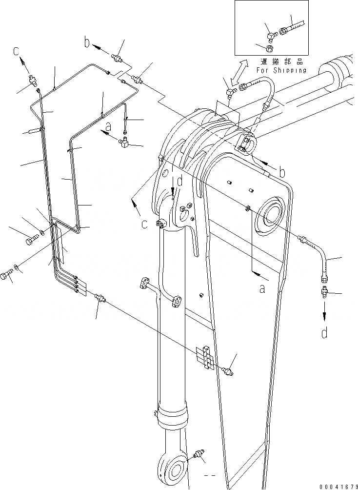
1
2
3
4
5
6
7
7
8
8
9
9
10
11
12
13
14
14
15
16
17
18
18
18
19
19
19
20
21
22
23
FIT
1:1
100%

Артикул

Название

Примечание

Количество

1

07020-00000

FITTING

2

07214-51013

CONNECTOR

3

209-70-75352

TUBE

4

07217-51013

ELBOW

5

209-70-75372

TUBE

6

209-70-75891

TUBE

7

07214-51013

CONNECTOR

8

421-70-13132

HOSE

9

205-70-51380

ELBOW

10

209-70-75362

TUBE

11

07214-51013

CONNECTOR

12

209-72-16120

HOSE

13

205-70-51390

NIPPLE

14

203-06-53730

CLIP

15

04434-51010

CLIP

16

01010-81020

BOLT

17

01643-31032

WASHER

18

04434-51010

CLIP

19

04435-51010

CLIP

20

01010-81020

BOLT

21

01643-31032

WASHER

22

07020-00000

FITTING

23

209-98-51110

PLUG

Выбрано товаров: 0