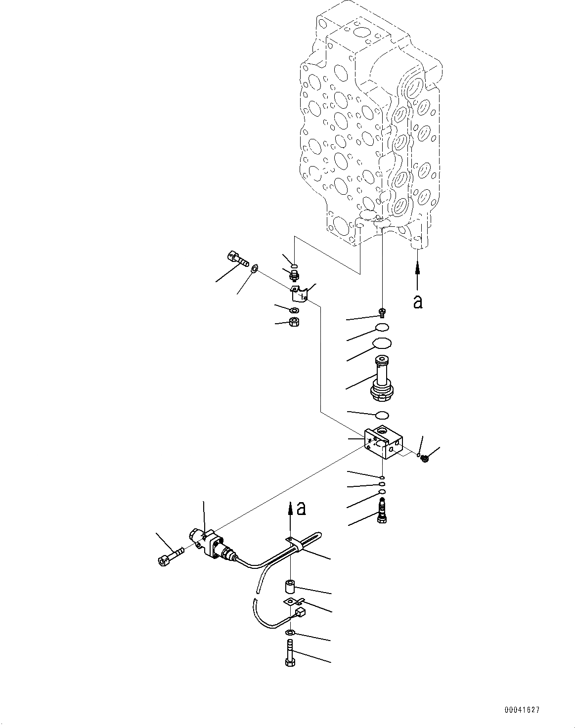
Запчасти Komatsu PC850-8R1 УПРАВЛЯЮЩ. КЛАПАН, 4-Х СЕКЦИОНН. (7/7) (№7-) УПРАВЛЯЮЩ. КЛАПАН

Схема запчастей Komatsu PC850-8R1 - УПРАВЛЯЮЩ. КЛАПАН, 4-Х СЕКЦИОНН. (7/7) (№7-) УПРАВЛЯЮЩ. КЛАПАН
1
3
4
3
2
6
5
8
9
7
11
10
15
16
12
17
22
25
21
19
23
20
24
14
13
18
FIT
1:1
100%

Артикул

Название

Примечание

Количество

|$0

709-14-95500

Valve, Control

|$1

709-10-92400

Orifice Assembly

1

709-10-91370

Orifice

2

709-14-11660

Orifice

3

700-93-11320

O-ring

4

07002-13634

O-ring

5

07000-11007

O-ring

6

709-14-12450

Block

7

07000-12010

O-ring

8

07000-12012

O-ring

9

709-14-12460

Plug

10

708-8E-16160

Plug

11

07002-11023

O-ring

12

01643-30623

Washer

13

01580-10605

Nut

14

709-14-12470

Plug

15

07002-11423

O-ring

16

709-14-12480

Plate

17

01643-30623

Washer

18

01252-60610

Bolt, Hexagon Socket Head

19

08193-20010

Clip

20

01010-81045

Bolt

21

6112-21-6960

Spacer

22

04435-50810

Clip

23

01643-31032

Washer

24

729-13-01110

Sensor Assembly

25

01252-60835

Bolt, Hexagon Socket Head

Выбрано товаров: 27