Запчасти Komatsu PC850SE-8R ОСНОВН. КЛАПАН (4-Х СЕКЦИОНН.) (7/7) ОСНОВН. КОМПОНЕНТЫ И РЕМКОМПЛЕКТЫ

Схема запчастей Komatsu PC850SE-8R - ОСНОВН. КЛАПАН (4-Х СЕКЦИОНН.) (7/7) ОСНОВН. КОМПОНЕНТЫ И РЕМКОМПЛЕКТЫ
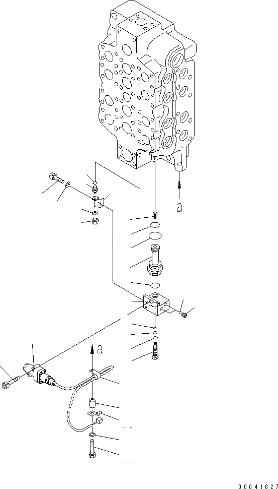
1
2
3
3
4
5
6
7
8
9
10
11
12
13
14
15
16
17
18
19
20
21
22
23
24
25
FIT
1:1
100%

Артикул

Название

Примечание

Количество

|$1

709-14-94200

CONTROL VALVE

|$3

709-10-92400

ORIFICE ASS'Y

1

709-10-91370

ORIFICE

2

709-14-11660

ORIFICE

3

700-93-11320

O-RING

4

07002-13634

O-RING

5

07000-11007

O-RING

6

709-14-12450

BLOCK

7

07000-12010

O-RING

8

07000-12012

O-RING

9

709-14-12460

PLUG

10

708-8E-16160

PLUG

11

07002-11023

O-RING

12

01643-30623

WASHER

13

01580-10605

NUT

14

709-14-12470

PLUG

15

07002-11423

O-RING

16

709-14-12480

PLATE

17

01643-30623

WASHER

18

01252-60610

BOLT

19

08193-20010

CLIP

20

01010-81045

BOLT

21

6112-21-6960

SPACER

22

04435-50810

CLIP

23

01643-31032

WASHER

24

729-13-01110

SENSOR ASS'Y

25

01252-60835

BOLT

Выбрано товаров: 27