Запчасти Komatsu PC88MR-8 МЕХАНИЗМ ПОВОРОТА И МОТОР, ВНУТР. ЧАСТИ (№-) МЕХАНИЗМ ПОВОРОТА И МОТОР

Схема запчастей Komatsu PC88MR-8 - МЕХАНИЗМ ПОВОРОТА И МОТОР, ВНУТР. ЧАСТИ (№-) МЕХАНИЗМ ПОВОРОТА И МОТОР
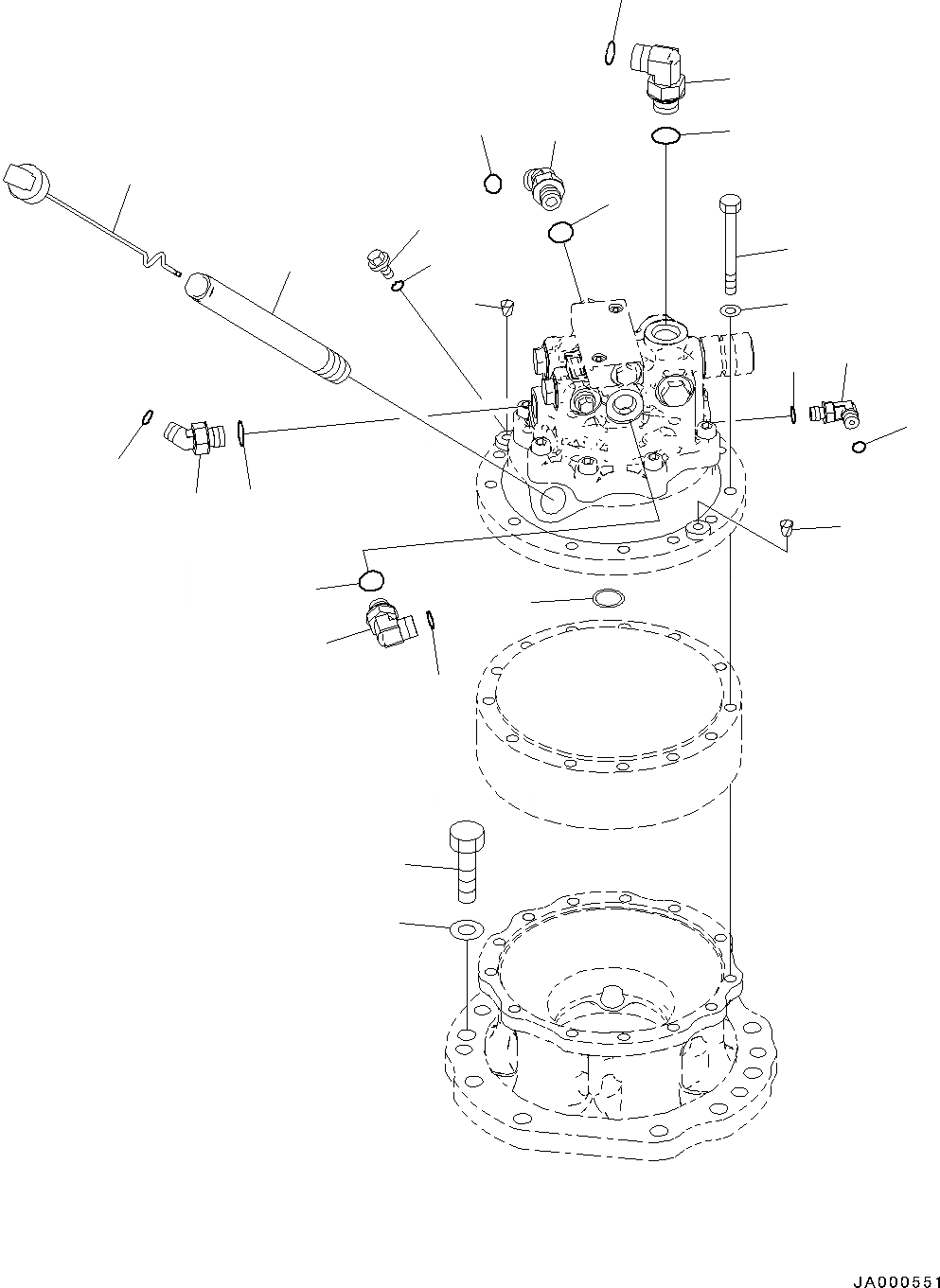
1
2
3
4
5
6
7
8
9
10
11
12
13
14
15
16
17
18
19
20
21
22
23
24
25
25
FIT
1:1
100%

Артикул

Название

Примечание

Количество

|$0

22P-26-11000

Swing Machinery Assembly

1

21W-26-41320

Ring

2

01011-81005

Bolt

3

01643-31032

Washer

4

708-8E-16150

Plug

5

07002-61023

O-ring

6

22P-26-11210

Filler

7

22P-26-11480

Gauge

8

02783-10422

Elbow

9

07002-62034

O-ring

10

02896-61012

O-ring

11

02782-10422

Elbow

12

07002-62034

O-ring

13

02896-61012

O-ring

14

02782-10522

Elbow

15

07002-62434

O-ring

16

02896-61015

O-ring

17

02783-10315

Elbow

18

07002-62034

O-ring

19

02896-61009

O-ring

20

02782-10210

Elbow

21

07002-61423

O-ring

22

02896-61008

O-ring

23

21K-27-31120

Bolt

24

01643-31645

Washer

25

07049-01012

Plug

Выбрано товаров: 0