Запчасти Komatsu PC88MR-8 K-8 ОСНОВН. КОНСТРУКЦИЯ КРЕПЛЕНИЕ OPERATOR\XD S ОБСТАНОВКА И СИСТЕМА УПРАВЛЕНИЯ

Схема запчастей Komatsu PC88MR-8 - K-8 ОСНОВН. КОНСТРУКЦИЯ КРЕПЛЕНИЕ OPERATOR\XD S ОБСТАНОВКА И СИСТЕМА УПРАВЛЕНИЯ
12
14
17
3
18
17
18
6
8
17
17
18
18
17
11
15
13
18
13
1
4
15
7
17
13
9
18
8
6
16
5
4
7
5
2
4
7
13
4
13
1
10
10
FIT
1:1
100%

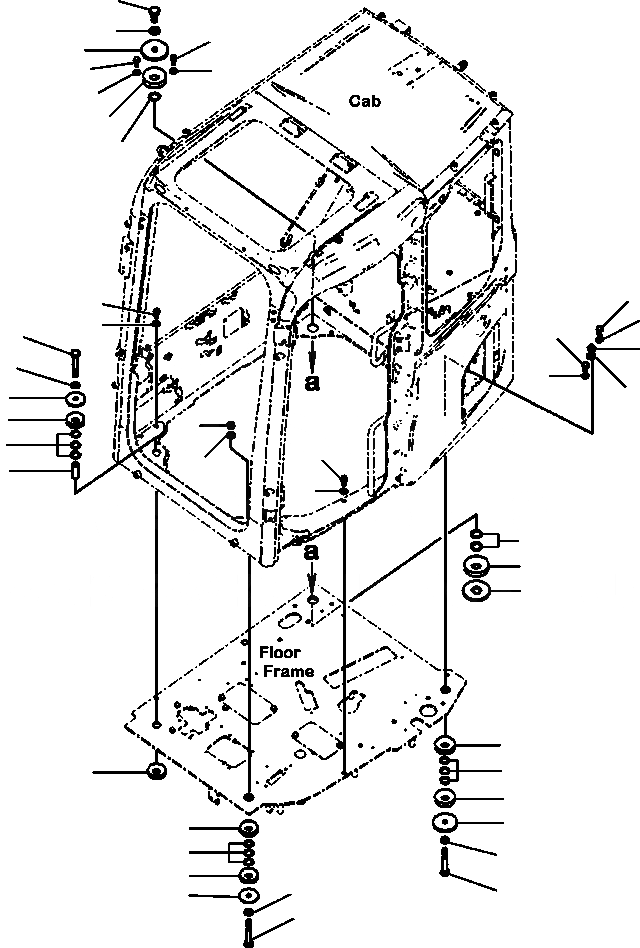
Артикул

Название

Примечание

Количество

1

22P-53-18831

PLATE

2

22P-53-18981

PLATE

3

22P-53-18871

PLATE

4

22P-53-18821

CUSHION

5

22P-53-18891

CUSHION

6

22P-53-18861

CUSHION

7

07000-13025

O-RING

8

07000-13035

O-RING

9

22P-53-18810

COLLAR

10

21W-54-42270

BOLT

11

01011-81610

BOLT

12

01010-82055

BOLT

13

01643-31645

WASHER

14

01643-32060

WASHER

15

01580-11613

NUT

16

22P-53-18720

PLATE

17

01010-81235

BOLT

18

01643-31232

WASHER

Выбрано товаров: 18